Запчасти Case 855D (9-092) - CAB HEATING SYSTEM - CORE & HARDWARE (09) - CHASSIS/ATTACHMENTS

Схема запчастей Case 855D - (9-092) - CAB HEATING SYSTEM - CORE & HARDWARE (09) - CHASSIS/ATTACHMENTS
36
30
32
37
35
33
35
38
31
34
FIT
1:1
100%

Артикул

Название

Примечание

Количество

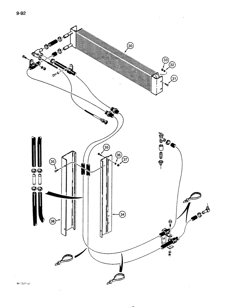
30

F45204

HEAT-EXCHANGER

CORE

1шт.

31

113-1

BOLT,Hex, 1/4" - 20 x 1/2", Gr 5

4шт.

32

192-19

LOCK WASHER,Helical Spring, 0.256" ID, CST, ZND

4шт.

33

7770

NUT,Hex, 1/4 - 20, Cl 5

4шт.

34

R49735

SUPPORT

hose cover

1шт.

35

121-20

BOLT,Hex Flg, 1/4"-20 x 1/2", Serr

4шт.

36

192-19

LOCK WASHER,Helical Spring, 0.256" ID, CST, ZND

2шт.

37

7770

NUT,Hex, 1/4 - 20, Cl 5

2шт.

38

R49707

COVER

hoses

1шт.

39

REF

INSTRUCTION

DECAL - heater valve control, see Figure 9-108, not shown

1шт.

Выбрано товаров: 10