Запчасти Case 855D (2-22) - CYLINDER BLOCK, 6-590 ENGINE (NATURAL ASPIRATED), ENGINE SERIAL NO. 44511034 AND AFTER (02) - ENGINE

Схема запчастей Case 855D - (2-22) - CYLINDER BLOCK, 6-590 ENGINE (NATURAL ASPIRATED), ENGINE SERIAL NO. 44511034 AND AFTER (02) - ENGINE
8
4
6
12
28
34
26
16
18
36
33
9
11
6
7
1
29
27
10
35
7
15
22
6
2
3
19
5
7
21
25
FIT
1:1
100%

Артикул

Название

Примечание

Количество

1989049C2

ENGINE ASSEMBLY

ENGINE ASSY complete (Includes all parts except starter, alternator, fan, fan belt, air cleaner, muffler and exhaust pipe)

1шт.

1989049C2. USE BASIC ENG. FOR SERVICE.

1шт.

1989131C1R

REMAN-REPLACEMENT EN

Remanufactured

1шт.

6-590C

CORE-REPLACEMENT ENG

Return Number, Complete

1шт.

1989095C2

BASIC ENGINE

1шт.

ENGINE ASSEMBLY - basic (Includes all parts except starter, alternator, fan, fan belt, fan bracket, air cleaner, muffler, exhaust manifold and pipe, flywheel and housing, oil fill tube, dipstick, fuel injection pump, injectors and lines, front crank pulley, belt tensioner and turbocharger

1шт.

1989095C2R

ENGINE, EXCHANGE

Remanufactured Basic Engine Assembly, assembly includes short block assembly, cylinder head, valve cover, front cover, oil pan, water pump, thermostat and gasket kit to transfer trim parts

1шт.

1989095C2C

CORE-ENGINE

Return Number

1шт.

AR77761 AND A77761. CAMSHAFT AND TAPPETS NOT INCLUDED.

1шт.

A77761

SKELETON ENGINE

short, (New)(Includes stripped block pistons, connecting rods and bearings, crankshaft and bearings) (Order block and J920399 kit)

1шт.

AR77761

SKELETON ENGINE

Engine Short, Remanufactured

1шт.

AC77761

CORE-ENGINE

Engine short block (Use this part number to return block core for credit)

1шт.

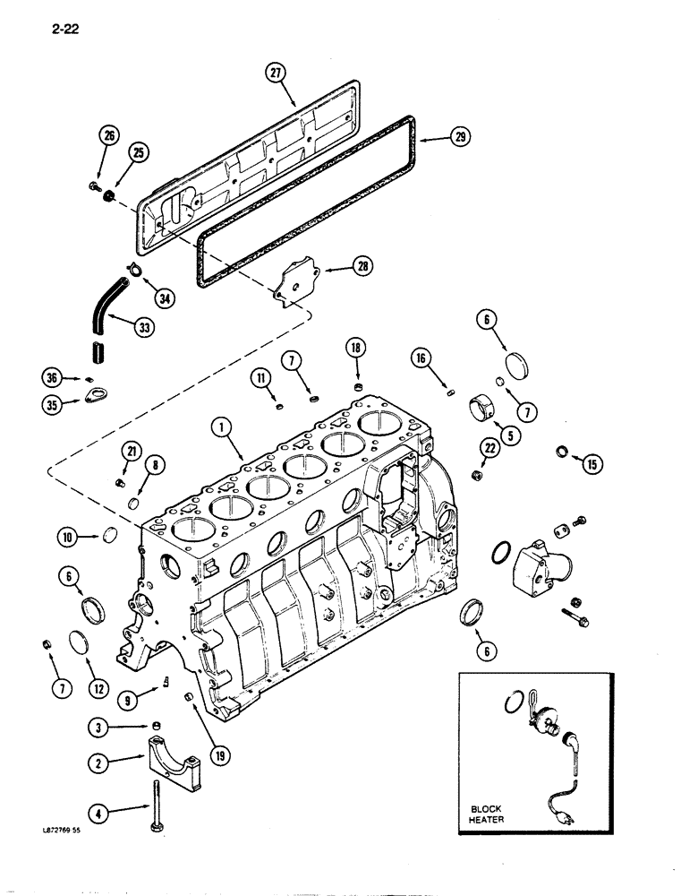
1

A77760

CRANKCASE

stripped engine (Order block and J920399 kit), Includes: Ref. 2 - 8

1шт.

2

J900967

BEARING CAP

main

7шт.

3

J900068

BEARING WASHER

dowel, 18 mm OD

14шт.

4

J904217

BOLT,Hex, M14 x 2 x 119mm, Cl 12.9

bearing cap, special

14шт.

5

REF

INSTRUCTION

BUSHING - camshaft, front (See Figure 2-34)

1шт.

6

J900965

PLUG

expansion, 58 mm OD

6шт.

7

J900956

PLUG

expansion, 18 mm OD

3шт.

8

A77539

PLUG

expansion, 26 mm

4шт.

J920399

PACKAGE, REPAIR

KIT - block hardware (Replaces J905813), Includes: Ref. 9 - 22

1шт.

9

J919002

NOZZLE CAP

piston cooling (Replaces J901020)

6шт.

10

J900958

PLUG

expansion, 32 mm OD

1шт.

11

J900955

PLUG

expansion, 10 mm OD

2шт.

12

J900687

PLUG

expansion, (Welch) 60 mm OD

1шт.

15

A77439

PLUG

expansion, 0.886 mm OD

1шт.

16

J900257

PIN,10.01mm OD x 16mm L

dowel, locating, 16 mm

2шт.

18

J902343

DOWEL

RING, 16 mm OD

2шт.

19

J900068

BEARING WASHER

RING - dowel, 18 mm OD

2шт.

21

J906619

PLUG,1/8" - 27

hex socket pipe, 1/8-27 PT

2шт.

22

A77429

PLUG

hex socket pipe, 1/2-14 PT

1шт.

25

J900267

SEAL

cover bolt

4шт.

26

J900629

FLANGE BOLT,Hvy Hex, M8 x 16mm, Cl 8.8

4шт.

27

J911822

COVER

tappet

1шт.

28

J907586

BAFFLE

tappet cover

1шт.

29

J907617

GASKET

tappet cover (Replaces J904776)

1шт.

33

J906593

HOSE

Breather

1шт.

34

J904230

CLAMP,25.4mm

spring hose

1шт.

35

J909670

CLIP

retaining

1шт.

36

J905479

SPRING NUT

spring, hose clip (If Equipped)

1шт.

Выбрано товаров: 40