Запчасти Case 855D (2-26) - CYLINDER BLOCK, 6T-590 ENGINE (TURBOCHARGED), ENGINE SERIAL NO. 44511034 AND AFTER (02) - ENGINE

Схема запчастей Case 855D - (2-26) - CYLINDER BLOCK, 6T-590 ENGINE (TURBOCHARGED), ENGINE SERIAL NO. 44511034 AND AFTER (02) - ENGINE
21
7
7
6
8
6
27
1
26
22
29
16
28
36
34
10
18
19
11
23
25
33
4
35
3
5
6
2
9
12
7
15
FIT
1:1
100%

Артикул

Название

Примечание

Количество

1989050C2

ENGINE ASSEMBLY

ENGINE ASSY complete (Includes all parts except starter, alternator, fan, fan belt, air cleaner, muffler and exhaust pipe)

1шт.

For 1989050C2, Use 1989096C2

1шт.

1989096C2

BASIC ENGINE

1шт.

ENGINE ASSEMBLY - basic (Includes all parts except starter, alternator, fan, fan belt, fan bracket, air cleaner, muffler, exhaust manifold and pipe, flywheel and housing, oil fill tube, dipstick, fuel injection pump, injectors and lines, front crank pulley, belt tensioner and turbocharger

1шт.

1989096C2R

ENGINE, EXCHANGE

ENGINE (EXCHANGE) Remanufactured, For N.A. Only

1шт.

AR77762

ENGINE

short, remanufactured (For North America only)

1шт.

AR77762 and A77762 do not include Camshaft and Tappets

1шт.

AC77762

CORE-ENGINE

engine short block (Use this part number to return block core for credit)

1шт.

A77762

SKELETON ENGINE

short, (New), Includes: stripped block pistons, connecting rods and bearings, crankshaft and bearings) (Order block and J920399 kit)

1шт.

A77762 do not include Camshaft and Tappets.

1шт.

J933183

SKELETON ENGINE

Engine Short Block - Tier 0

1шт.

JR933183

REMAN-SHORT ENGINE

Remanufactured, For N.A. Only

1шт.

JR933183

REMAN-SHORT ENGINE

Remanufactured, For N.A. Only

1шт.

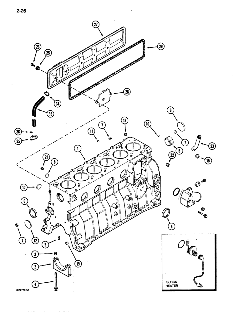
1

A77760

CRANKCASE

stripped engine (Order block and J920399 kit), Includes: Ref. 2 - 8

1шт.

2

J900967

BEARING CAP

main

7шт.

3

J900068

BEARING WASHER

dowel, 18 mm OD

14шт.

4

J904217

BOLT,Hex, M14 x 2 x 119mm, Cl 12.9

bearing cap, special

14шт.

5

REF

INSTRUCTION

BUSHING - camshaft, front (See Figure 2-34)

1шт.

6

J900965

PLUG

expansion, 58 mm OD

6шт.

7

J900956

PLUG

expansion, 18 mm OD

3шт.

8

A77539

PLUG

expansion, 26 mm

4шт.

PJ920399

SHIN

KIT - block hardware (Replaces J905813), Includes: Ref. 9 - 22

1шт.

9

J919002

NOZZLE CAP

piston cooling (Replaces J901020)

6шт.

10

J900958

PLUG

expansion, 32 mm OD

1шт.

11

J900955

PLUG

expansion, 10 mm OD

2шт.

12

J900687

PLUG

expansion, (Welch) 60 mm OD

1шт.

15

A77439

PLUG

expansion, 0.886 mm OD

1шт.

16

J900257

PIN,10.01mm OD x 16mm L

dowel, locating, 16 mm

2шт.

18

J902343

DOWEL

RING - 16 mm OD

2шт.

19

J900068

BEARING WASHER

RING - dowel, 18 mm OD

2шт.

21

J906619

PLUG,1/8" - 27

hex socket pipe, 1/8-27 PT

2шт.

22

A77429

PLUG

hex socket pipe, 1/2-14 PT

1шт.

23

J903744

PIPE FITTING,22.42 mm ID x 28 mm OD x 90.2, 64 mm L

turbocharger oil drain

1шт.

25

J900267

SEAL

cover bolt

4шт.

26

845-8016

BOLT,Hvy Hex, M8 x 16mm, Cl 8.8

4шт.

27

J911822

COVER

tappet

1шт.

28

J907586

BAFFLE

tappet cover

1шт.

29

J907617

GASKET

tappet cover (Replaces J904776)

1шт.

33

J906593

HOSE

Breather

1шт.

34

J904230

CLAMP,25.4mm

spring hose

1шт.

35

J909670

CLIP

retaining

1шт.

36

J905479

SPRING NUT

hose clip (If Equipped)

1шт.

Выбрано товаров: 0