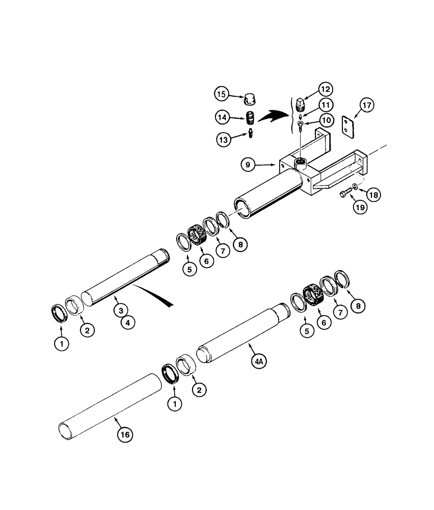
Запчасти Case 855E (5-04) - TRACK ADJUSTER (11) - TRACKS/STEERING

Схема запчастей Case 855E - (5-04) - TRACK ADJUSTER (11) - TRACKS/STEERING
1
9
16
6
8
4a
19
12
34
14
13
15
4
2
7
8
1
10
5
17
6
11
7
18
5
2
FIT
1:1
100%

Артикул

Название

Примечание

Количество

R32467

ADJUSTER

ASSEMBLY - track, used on loader models

2шт.

R54616

ADJUSTER

ASSEMBLY - track, used on dozer models, no longer used, see note below

2шт.

Replace adjuster assembly preceded by a balloon with one 129162A1 adjuster assembly and one item 16 127613A1 spacer.

1шт.

129162A1

SHOCK ABSORBER

ADJUSTER ASSEMBLY - track, used on dozer models

2шт.

1

D95149

PACKING RING,60.24mm ID x 73.05mm OD x 7.92mm Thk

WIPER - piston rod

1шт.

2

D30374

RING,60.43mm ID x 73.15mm OD x 25.4mm L

- wear

1шт.

3

R31983

ROD

- piston, 16 inch (410 mm) long, R32467 track adjuster only

1шт.

4

R54615

PISTON

ROD - piston, 25-1/2 inch (648 mm) long, R54616 track adjuster only, no longer used

1шт.

4a

129161A1

PISTON

ROD - piston, 12-1/2 inch (316 mm) long, 129162A1 track adjuster only

1шт.

Replace piston rod preceded by twoballoons with one item 4A 129161A1 rod and one item 16 127613A1 spacer.

1шт.

5

R30202

RING,54.101mm ID x 65.1mm OD x 5.08mm Thk

- backup

1шт.

6

R25663

BUSHING,53.98mm ID x 66.62mm OD x 25.4mm L

- seal, backup

1шт.

7

R25706

SEAL,53.9mm ID x 66.75mm OD x 10.69mm Thk

- U-cup

1шт.

8

101-11212

SNAP RING,#212, 1.997", Ext

RING, SNAP, #212, 1.997", Ext

1шт.

9

R31976

YOKE

- track adjuster

1шт.

10

D35287

CHECK VALVE,5/8" - 18

- check

1шт.

11

219-1

LUBE NIPPLE,1/8" - 27 NPTF

FITTING - grease, straight, 1/8 PT x 21/32 inch, used without trackadjuster cover

1шт.

12

221-532

PLUG - square, 1-1/4 inch PT, used without track adjuster cover

1шт.

13

219-5

LUBE NIPPLE,1/8" - 27 NPTF

FITTING - grease, straight, 3/16 drive type x 23/32 inch, used with track adjuster cover

1шт.

For track adjuster covers see Figure 5-10.

1шт.

14

221-1262

FITTING

NIPPLE - straight, 1-1/4 PT x 2 inch, used with track adjuster cover

2шт.

For track adjuster covers see Figure 5-10.

1шт.

15

221-528

CAP,1 1/4" NPT

- pipe, 1-1/4 inch, used with track adjuster cover

2шт.

For track adjuster covers see Figure 5-10.

1шт.

16

127613A1

TUBE,60.3 mm OD, 334 mm Length

SPACER - tube

2шт.

Replace adjuster assembly preceded by a balloon with one 129162A1 adjuster assembly and one item 16 127613A1 spacer.

1шт.

Replace piston rod preceded by twoballoons with one item 4A 129161A1 rod and one item 16 127613A1 spacer.

1шт.

17

R37875

SHIM,0.813mm Thk

(.032") 0.813mm Thk

1шт.

18

496-21053

WASHER,17/32" x 1 1/16" x .134"

- flat, 17/32 x 1-1/16 x 1/8 inch, hardened

8шт.

19

113-2448

LOCK BOLT,Locking, 1/2"-13 x 1 1/2", G8

BOLT, Locking, 1/2"-13 x 1 1/2", G8

4шт.

Выбрано товаров: 30