Запчасти Case 855E (5-10) - TRACK GUARDS (11) - TRACKS/STEERING

Схема запчастей Case 855E - (5-10) - TRACK GUARDS (11) - TRACKS/STEERING
2
10
13
6
7
1
16
7
17
14
18
8
5
12
3
9
FIT
1:1
100%

Артикул

Название

Примечание

Количество

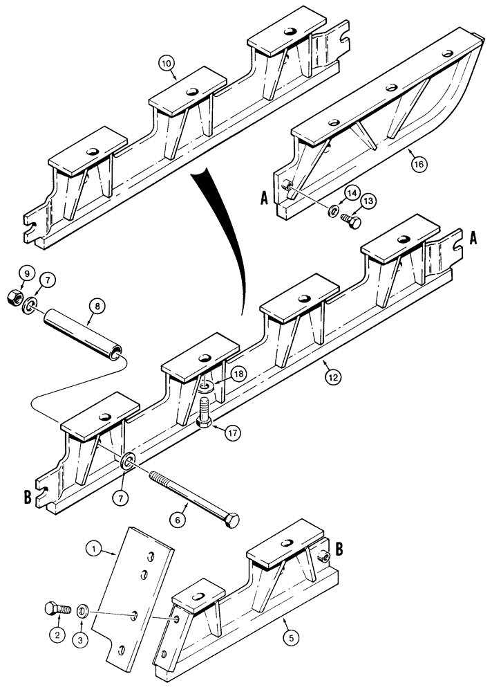
1

R56637

COVER

- rear, flat

4шт.

2

106-91020

LOCK BOLT,Locking, 5/8"-11 x 1 1/4", G5, Full Thd

BOLT, Locking, 5/8"-11 x 1 1/4", G5, Full Thd

16шт.

3

96-21066

WASHER,21/32" x 1 5/16" x .150", HDN

- flat, 21/32 x 1-5/16 x 5/32 inch, hardened

16шт.

4

R56633

GUARD

- track, rear, left-hand, both tracks, not shown

2шт.

5

R56646

GUARD

- track, rear, right-hand, both tracks

2шт.

6

413-12152

BOLT,Hex, 3/4" - 10 x 9-1/2", Gr 5

8шт.

7

D34666

WASHER,33.34mm ID x 63.5mm OD x 2.38mm Thk

- flat, special, 3/4 inch, hardened

16шт.

8

D35698

SPACER

- track guards

8шт.

9

231-41112

LOCK NUT,3/4"-10, GB

NUT - hex, self-locking, 3/4 inch NC

8шт.

10

R55989

GUARD

- track, center, loader models

4шт.

11

R55833

GUARD

- track, center, left-hand, both tracks, dozer models, not shown

2шт.

12

R55832

GUARD

- track, center, right-hand, both tracks, dozer models

2шт.

13

106-9820

LOCK BOLT,Locking, 1/2"-13 x 1 1/4", G5, Full Thd

BOLT, Locking, 1/2"-13 x 1 1/4", G5, Full Thd

8шт.

14

D64050

WASHER

- flat, special, 1/2 inch, hardened

8шт.

15

R56620

GUARD

- track, front, left-hand, both tracks, not shown

2шт.

16

R56629

GUARD

- track, front, right-hand, both tracks

2шт.

17

113-2704

LOCK BOLT,Locking, 3/4"-10 x 1 1/2", G5, Full Thd

BOLT, Locking, 3/4-10 x 1 1/2", G5, Full Thd

32-36шт.

18

D34666

WASHER,33.34mm ID x 63.5mm OD x 2.38mm Thk

- flat, special, 3/4 inch, hardened

32-36шт.

Выбрано товаров: 18