Запчасти Case 855E (3-04) - FUEL TANK (03) - FUEL SYSTEM

Схема запчастей Case 855E - (3-04) - FUEL TANK (03) - FUEL SYSTEM
4
11
20
14
16
21
27
7
12
6
23
13
25
29
3
26
22
10
8
16
28
2
20
9
1
5
24
19
15
17
FIT
1:1
100%

Артикул

Название

Примечание

Количество

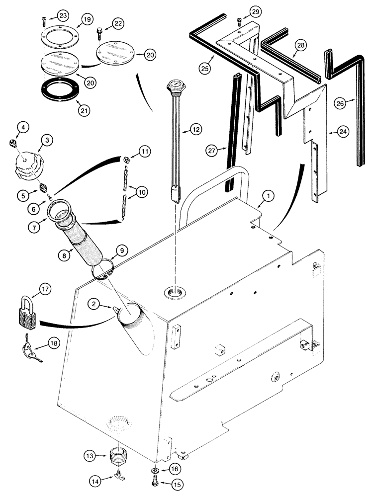
1

R57900

TANK

- fuel

1шт.

2

R46704

BRACKET

TAB - locking, fuel cap

1шт.

R57981

FILLER CAP

CAP ASSEMBLY - fuel tank

1шт.

3

NSS

NOT SOLD SEPARAT

CAP - fuel tank

1шт.

4

R57888

FILTER

- air inlet, fuel tank

1шт.

5

A50096

VALVE

- relief, fuel tank

1шт.

6

301-14712

SCREW,Drive, #12 x 3/4"

- drive, round head, No. 12 x 3/4 inch

1шт.

7

R49868

GASKET,72mm ID x 90mm OD x 3mm Thk

- rubber, fuel cap

1шт.

8

R51771

STRAINER ASSY.

STRAINER - fuel

1шт.

9

103-21300

SNAP RING,3.00", Int, #300

Ring, Snap, , Chain 3.00", Int, #300

1шт.

10

R47786

CHAIN (CE)

CHAIN - filler cap

1шт.

11

R48634

FASTENER

HOOK - chain

1шт.

12

R49775

FUEL GAUGE

GAUGE - fuel tank

1шт.

13

R27578

PLUG

- drain, fuel tank

1шт.

14

217-81

VALVE

- drain, 1/8 inch PT, drain plug

1шт.

15

413-1016

BOLT,Hex, 5/8" - 11 x 1", Gr 5

- hex, 5/8 NC x 1 inch

4шт.

16

96-21066

WASHER,21/32" x 1 5/16" x .150", HDN

- flat, 21/32 x 1-5/16 x 5/32 inch, hardened

4шт.

17

D93753

PADLOCK

- includes keys

1шт.

18

R29555

KEY

- for Master padlock only, if used

2шт.

18

D93751

SET OF 2 KEYS

KEY - for Yale padlock only, if used

2шт.

19

R53852

RING

- retainer, fuel gauge cover, if used, parts used on models with cab

1шт.

20

R51354

COVER

- fuel gauge, clear plastic, may be used with or without item 19 ring and item 21 gasket, parts used with cab

1шт.

21

R53234

GASKET

- fuel gauge cover, if used, parts used on models with cab

1шт.

22

187-579

SELF-TAP SCREW,Hex Wash Hd, #10 x 1/2"

SCREW - self-tapping, hex washer head, No. 10-16 x 1/2 inch, used without item 19 ring and item 21 gasket, if used, parts used on models with cab

4шт.

23

260-16512

SELF-TAP SCREW,Cross Pan Hd, #10 x 3/4"

SCREW - self-tapping, pan Phillips, No. 10-16 x 3/4 ", Gimlet point, Used with item 19 ring and item 21 gasket, if used, parts used on models with cab

4шт.

24

1999346C1

FRAME ASSY

FRAME - seal, fuel tank, parts used on models with cab

1шт.

25

1999832C1

SEAL

- 16-1/8 inch (410 mm) long, molding, fuel tank, parts used on models with cab

1шт.

26

1999833C1

SEAL

- 29-1/8 inch (740 mm) long, front, vertical, parts used on models with cab

1шт.

27

1999834C1

SEAL

- 21-3/4 inch (552 mm) long, rear, vertical, cut from 1999833C1 above, parts used on models with cab

1шт.

28

1999835C1

SEAL

- 16-1/8 inch (410 mm) long, front, horizontall, cut from 1999833C1 above, parts used on models with cab

1шт.

29

161-105

HEX SOC SCREW,Btn Hd, 5/16" - 18 x 3/4"

BOLT - hex socket button head, 5/16 NC x 3/4 inch, parts used on models with cab

16шт.

Выбрано товаров: 31