Запчасти Case 855E (4-22) - LAMP ASSEMBLY - FRONT AND REAR FLOOD (04) - ELECTRICAL SYSTEMS

Схема запчастей Case 855E - (4-22) - LAMP ASSEMBLY - FRONT AND REAR FLOOD (04) - ELECTRICAL SYSTEMS
5
4
6
2
3
1
6
FIT
1:1
100%

Артикул

Название

Примечание

Количество

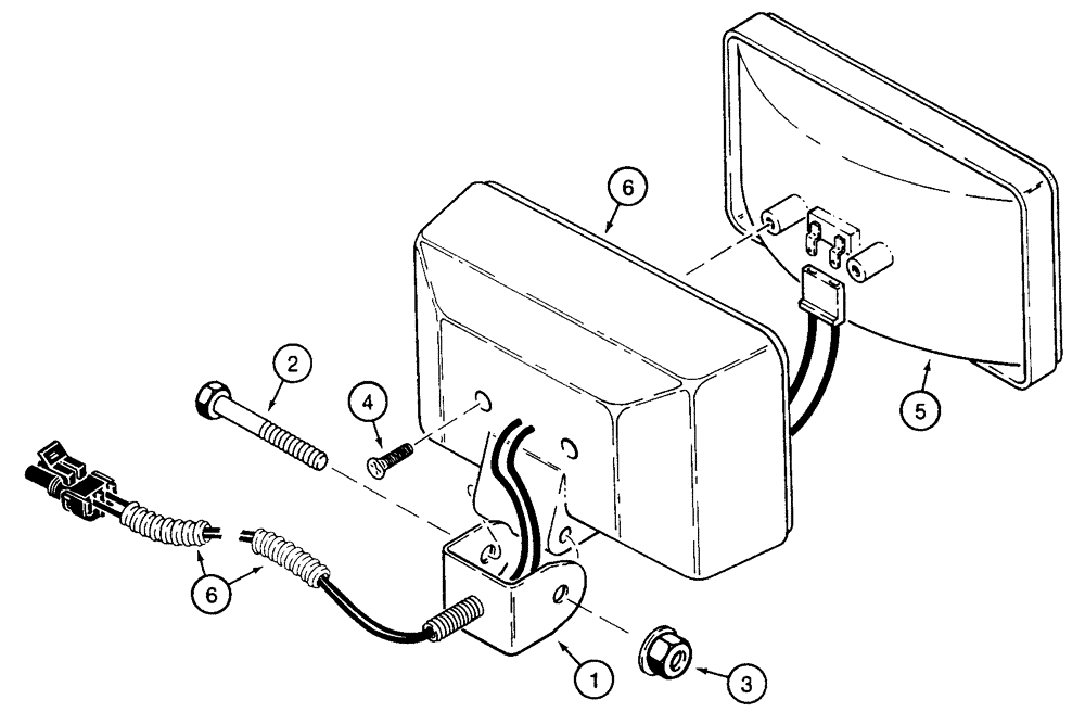
A187520

LIGHT ASSY.,24V, 70W, Clear

LAMP ASSEMBLY - front and rear flood

4шт.

1

A187913

SUPPORT

BRACKET - lamp

1шт.

2

413-532

BOLT,Hex, 5/16" - 18 x 2", Gr 5

1шт.

3

131-937

FLANGE NUT,Flg, 5/16"-18

NUT - hex flange, self-locking, 5/16 inch NC

1шт.

4

273-5048

SELF-TAP SCREW,Slotted Flat Hd, #8 x 1/2"

SCREW - self-tapping, flat head slotted, No. 8-18 x 1/2 inch

2шт.

5

103653A1

HEADLIGHT,24V, 60W

BULB - sealed beam

1шт.

6

NSS

NOT SOLD SEPARAT

HOUSING - lamp, includes wires and connector

1шт.

Выбрано товаров: 7