Запчасти Case 855E (4-28) - COLD START SYSTEM (04) - ELECTRICAL SYSTEMS

Схема запчастей Case 855E - (4-28) - COLD START SYSTEM (04) - ELECTRICAL SYSTEMS
12
9
4
6
7
2
11
10
13
3
8
11
5
1
FIT
1:1
100%

Артикул

Название

Примечание

Количество

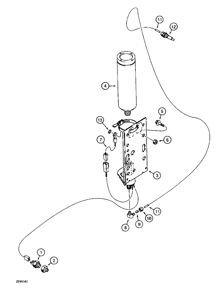
1

A172117

SWITCH

THERMOCOUPLE - in engine cylinder head below intake manifold inlet tube

1шт.

2

217-45

REDUCER,3/4" - 14 NPTF x 1/2" - 18 Fem NPTF

1шт.

3

A172516

VALVE

- solenoid, starting fluid injection, with bracket, component parts not serviced separately, 3 cc injection volume, 24 volt

1шт.

4

A171940

CYLINDER

- starting fluid

1шт.

5

160-101

BOLT,Hex, 3/8" - 16 x 3/4", Gr 8, Full Thd

- hex flange, 3/8 NC x 3/4 inch, grade 8

2шт.

6

230-4216

LOCK NUT,3/8"-16, GA

NUT - hex, self-locking, 3/8 inch NC

2шт.

7

R51632

ELECTRICAL WIRE

WIRE - ground, to valve mountig bracket

1шт.

8

222-615

ELBOW,90 Degree, 5/16"-24 x 1/8" NPT, Comp

1/8 tube 90º, 5/16"-24 x 1/8" NPT, Comp

1шт.

9

222-650

SLEEVE,1/8" Tube, Comp

Tapered 1/8" Tube, Comp

1шт.

10

222-660

FLANGE NUT,5/16"-24, 45 Degree Fl, Comp

1/8" tube OD 5/16"-24, 45º Fl, Comp

1шт.

11

R49591

PLASTIC-RUBBER TUBE,3.18 mm OD x 530 mm L

TUBE - nylon, 20-7/8 inch (530 mm) long, cut from L60539X bulk, see below

1шт.

12

A172900

NOZZLE CAP

NOZZLE ASSEMBLY - atomizer, cold start injection, component parts not serviced separately

1шт.

13

493-11039

LOCK WASHER,3/8", Int-Ext Tooth

WASHER - internal-external tooth lock, 3/8 inch, wire ground

1шт.

L60539X

TUBE

- bulk, nylon, 1/8 (3) ID x 168 inch (4267 mm) long

1шт.

Выбрано товаров: 14