Запчасти Case 750 (026) - PISTON ASSEMBLY AND CONNECTING RODS, (267) DIESEL ENGINE (01) - ENGINE

Схема запчастей Case 750 - (026) - PISTON ASSEMBLY AND CONNECTING RODS, (267) DIESEL ENGINE (01) - ENGINE
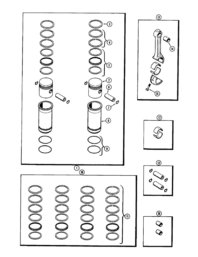
10
2
14
12
1
15
7
17
16
13
4
9
6
11
5
3
8
FIT
1:1
100%

Артикул

Название

Примечание

Количество

1

A40479

SLEEVE

PISTON & SLEEVE ASSY. (Set of 2)

2шт.

2

A24488

PISTON

(4-1/8" bore, aluminum)

2шт.

3

NSS

NOT SOLD SEPARAT

RING - compression (1st groove) (Order ref. 10)

2шт.

4

NSS

NOT SOLD SEPARAT

RING - compression (2nd & 3rd groove) (Order ref. 10)

4шт.

5

NSS

NOT SOLD SEPARAT

RING - oil control (4th groove) (Order ref. 10)

2шт.

6

NSS

NOT SOLD SEPARAT

PIN - piston (Order ref. 12)

2шт.

7

A21016

RING, SNAP

RING - piston pin retaining

4шт.

8

A23658

SLEEVE

- piston (Cylinder liner)

2шт.

9

A23315

O-RING,0.139" Thk x 4.234" ID, -244, Cl 5, 75 Duro

"O" RING - sleeve

4шт.

10

A40365

RING

KIT - re-ring (Set of 4)

1шт.

11

A40364

RING, PISTON

RING KIT - re-ring (Set of 1)

4шт.

12

A24517

PIN

KIT (Set of 2 pins & 4 ret. rings)

2шт.

13

A24424

ROD

ASSY. - connecting

4шт.

14

NSS

NOT SOLD SEPARAT

BUSHING - conn. rod (Order ref. 16)

1шт.

15

A27848

SPECIAL BOLT,1/2" - 20 x 2 3/16"

- conn. rod

2шт.

16

A21722

BUSHING

KIT - conn. rod (Set of 2)

2шт.

17

A20393

LINING

INSERT ASSY. - conn. rod brg. (Std.)

4шт.

17

A20569

JOURNAL

INSERT ASSY. - conn. rod brg. (-.002")

4шт.

17

A20571

BEARING LINER

INSERT ASSY. - conn. rod brg. (-.010")

4шт.

17

A20573

KIT

INSERT ASSY. - conn. rod brg. (-.020")

4шт.

17

A20576

LINING

INSERT ASSY. - conn. rod brg. (-.030")

4шт.

Выбрано товаров: 21