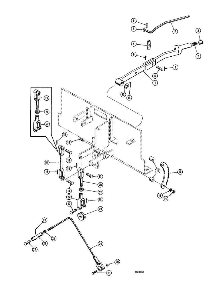
Запчасти Case 750 (102) - PARKING BRAKE (05) - UPPERSTRUCTURE CHASSIS

Схема запчастей Case 750 - (102) - PARKING BRAKE (05) - UPPERSTRUCTURE CHASSIS
24
17
23
29
21
9
17
13
20
21
30
7
18
17
28
3
4
11
19
27
1
2
8
18
15
22
18
17
18
5
20
25
10
6
12
26
14
22
16
6
FIT
1:1
100%

Артикул

Название

Примечание

Количество

1

R20127

HANDLE - parking brake

1шт.

2

R13850

SPRING

- parking brake

1шт.

3

R13851

BUTTON - parking brake release

1шт.

4

R13848

KEY

PAWL - parking brake

1шт.

5

35173

PIN

- parking brake pivot

1шт.

6

132-26

COTTER PIN

Pin, Split (Cotter), 3/32" x 3/4"

2шт.

7

R20189

ROD - parking brake

1шт.

8

195-18

WASHER,1/4"

- flat (9/32")

1шт.

9

132-5

COTTER PIN,1/16" x 1/2"

Pin, Split (Cotter), 1/16" x 1/2"

1шт.

10

R20125

RATCHET - parking brake

1шт.

11

71029

SPACER - ratchet

2шт.

12

14-628

BOLT,Hex, 3/8" - 24 x 1-3/4", Gr 5

HHCS - 3/8" - 24 NF x 1-3/4"

2шт.

13

92-6

LOCK WASHER,3/8"

2шт.

14

25-116

NUT,Hex, 3/8"-24, G5

- hex. (3/8" - 24 NF)

2шт.

15

195-33

WASHER,1/2"

- flat (17/32")

1шт.

16

132-48

COTTER PIN,1/8" x 1"

Pin, Split (Cotter), 1/8" x 1"

1шт.

17

141-4

CLEVIS PIN,3/8" x 1.060"

PIN, CLEVIS, 3/8" x 1.060"

4шт.

18

132-26

COTTER PIN

Pin, Split (Cotter), 3/32" x 3/4"

4шт.

19

R20188

ROD - parking brake (Order 1 - R20187 yoke, 1 - 25-156 nut and 1 - 213-4 yoke for service)

1шт.

20

R20187

ROD

YOKE - adjustable

1-2шт.

21

25-156

JAM NUT,Jam, 3/8"-24, G5

- hex., jam (3/8" - 24 NF)

1-2шт.

22

213-4

ADJUSTABLE CLEVIS,3/8"-24 x 2 1/2"

YOKE - end, adjustable

1-2шт.

23

70930

PULLEY - brake cable, 1" root dia. (When stock is exhausted order D32543 pulley for service)

1шт.

D32543

SHEAVE

PULLEY - brake cable, 2" root dia.

1шт.

24

R20126

CABLE

- parking brake

1шт.

25

25-154

JAM NUT,Jam, 1/4"-28, G5

- hex, jam (1/4"-28 NF)

1шт.

26

213-2

ADJUSTABLE CLEVIS,1/4"-28 x 2"

YOKE - end, adjustable

1шт.

27

141-2

CLEVIS PIN,1/4" x .770"

PIN - yoke

1шт.

28

132-5

COTTER PIN,1/16" x 1/2"

Pin, Split (Cotter), 1/16" x 1/2"

1шт.

29

13-420

BOLT,Hex, 1/4" - 20 x 1-1/4", Gr 5

1шт.

30

25-104

NUT,1/4"-20, G5

1шт.

Выбрано товаров: 31