Запчасти Case 750H (02-03) - RADIATOR MOUNTING (02) - ENGINE

Схема запчастей Case 750H - (02-03) - RADIATOR MOUNTING (02) - ENGINE
6
5
22
5
15
17
3
10
18
4
11
20
11
24
21
19
16
7
9
10
2
13
12
1
9
11
14
8
17
15
23
FIT
1:1
100%

Артикул

Название

Примечание

Количество

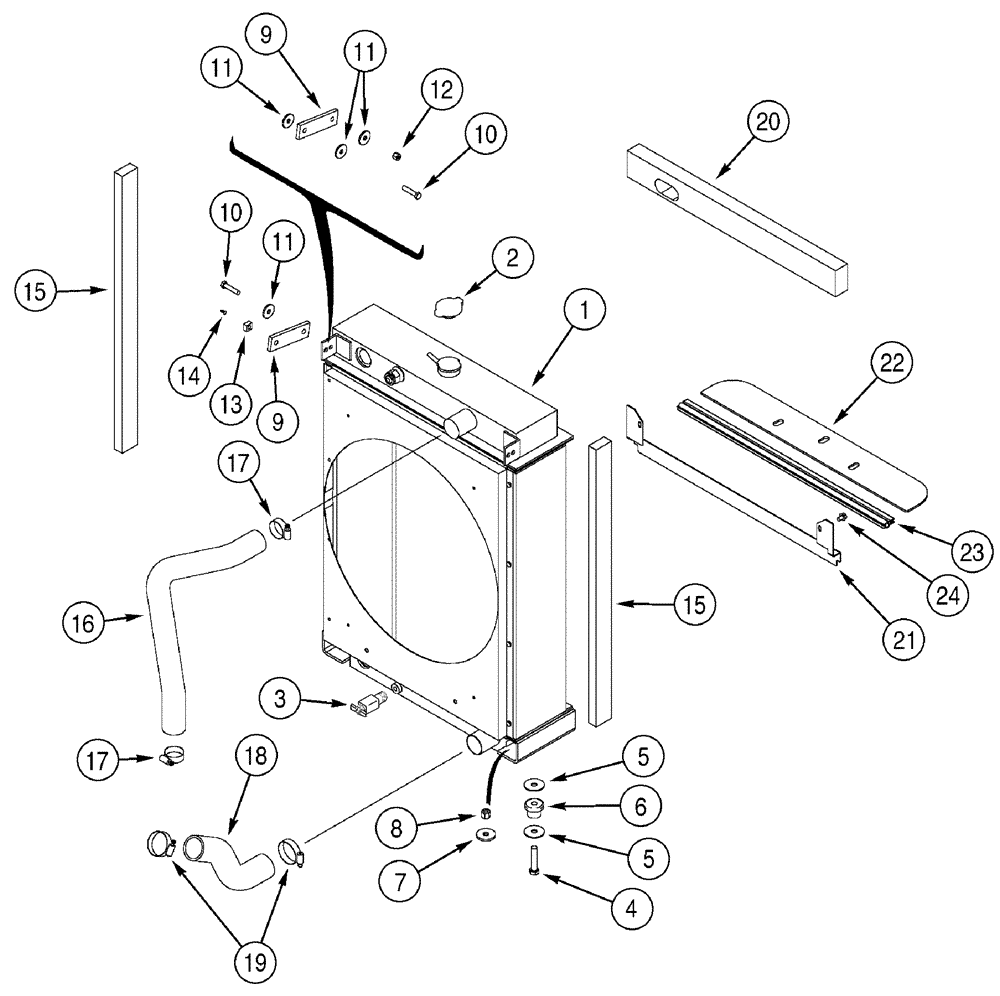
1

352383A1

RADIATOR

1шт.

2

A170241

RADIATOR CAP

15 psi

1шт.

3

217-92

COCK

1/4

1шт.

4

413-840

BOLT,Hex, 1/2" - 13 x 2-1/2", Gr 5

1/2 x 2-1/2

2шт.

5

R40262

WASHER,13.11mm ID x 47.75mm OD x 2.38mm Thk

4шт.

6

R29799

SHOCK ABSORBER

Rubber

2шт.

7

D25022

WASHER

2шт.

8

231-1448

NUT,1/2"-13, GB

2шт.

9

D73500

STRAP

Mounting

4шт.

10

106-9628

LOCK BOLT,Locking, 3/8"-16 x 1 3/4", G5

Use Loctite No. 242

4шт.

B17422

LOCTITE

Loctite, No. 242, 50 ml

1шт.

11

39519

WASHER,10.31mm ID x 34.9mm OD x 3.57mm Thk

10шт.

12

231-1446

NUT,3/8" - 16, Gr 5

2шт.

13

224-2806

SQUARE NUT,Sq, 3/8"-16, G2, Hvy

3/8

2шт.

14

336371A1

PIN,4.88mm OD x 14.23mm L

Nut Retainer

2шт.

15

R53624

PAD

2 x 31-5/16, Adhesive Back, Radiator Baffle

2шт.

16

365787A1

RADIATOR HOSE,44.50 mm ID x 273.00 mm, SAE 20R4

Upper

1шт.

17

214-3140

HOSE CLAMP,1-3/4" - 2-5/8", HD Worm

2шт.

18

365788A2

RADIATOR HOSE,58.00 mm ID x 223.20 mm, SAE 20R4 Class C or D1

Lower

1шт.

19

214-3148

HOSE CLAMP,2-1/4" - 3-1/8", HD Worm

2шт.

20

366861A1

SEAL

690 mm (27-3/16 in), Adhesive Back, Upper, Radiator

1шт.

21

367226A1

PLATE

Lower, Radiator

1шт.

22

366859A1

PLATE

Lower, Radiator

1шт.

23

367228A1

SEAL

685 mm (27 in), Radiator

1шт.

24

844-8012

BOLT,M8 x 1.25 x 20.1mm, Cl 8.8

2шт.

Выбрано товаров: 25