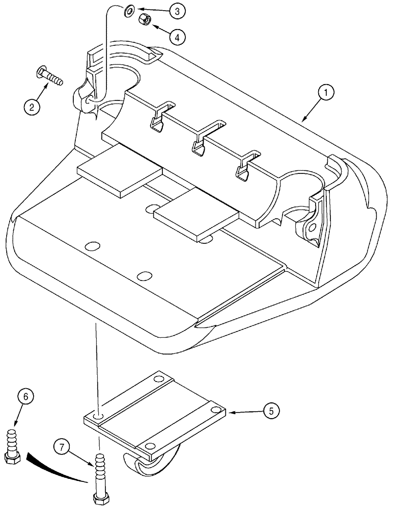
Запчасти Case 750H (09-06) - COUNTERWEIGHT, FRONT HOOK, TOWING (09) - CHASSIS

Схема запчастей Case 750H - (09-06) - COUNTERWEIGHT, FRONT HOOK, TOWING (09) - CHASSIS
3
4
6
7
5
2
1
FIT
1:1
100%

Артикул

Название

Примечание

Количество

1

369473A1

WEIGHT

Front

1шт.

2

433-836

CARRIAGE BOLT,Sq Nk, 1/2" - 13 x 2 1/4", Gr 5

2шт.

3

495-11053

WASHER,1/2", SAE

(17/32" x 1-1/16" x 3/32")

2шт.

4

231-1448

NUT,1/2"-13, GB

2шт.

5

71671

PLATE ASSY.

If Equipped

1шт.

6

413-1236

BOLT,Hex, 3/4" - 10 x 2-1/4", Gr 5

Used without 369473A1

4шт.

7

413-1264

BOLT,Hex, 3/4" - 10 x 4", Gr 5

3/4 x 4, Used With 369473A1

4шт.

Выбрано товаров: 7