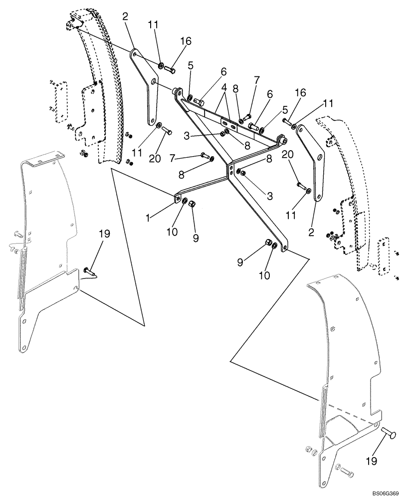
Запчасти Case 750K (09-13A) - GUARD, RADIATOR BRUSH SCREEN - GRILLE, HOOD ( W/ X-BRACE; IF USED) (09) - CHASSIS/ATTACHMENTS

Схема запчастей Case 750K - (09-13A) - GUARD, RADIATOR BRUSH SCREEN - GRILLE, HOOD ( W/ X-BRACE; IF USED) (09) - CHASSIS/ATTACHMENTS
11
2
4
9
6
7
8
19
5
2
8
11
3
10
10
11
7
1
3
8
6
20
20
5
16
11
19
8
9
16
FIT
1:1
100%

Артикул

Название

Примечание

Количество

1

87520859

BRACE

X-Brace, Half Section

2шт.

2

87520860

BRACKET

Bracket With X-Brace Mounting

2шт.

3

832-41412

NUT,M12 x 1.75, Cl 10

4шт.

4

87520863

STRUT

Upper Strut With X-Brace

2шт.

5

86625266

WASHER,17.5mm ID x 30mm OD x 4mm Thk

2шт.

6

806-16035

BOLT,Hex, M16 x 2 x 35mm, Cl 10.9

2шт.

7

627-12030

BOLT,Hex, M12 x 1.75 x 30mm, Cl 10.9, Full Thd

4шт.

8

896-11012

WASHER,13.5mm ID x 24mm OD x 3mm Thk

8шт.

9

832-10412

NUT,M12 x 1.75, Cl 8

2шт.

10

896-11016

WASHER,17.5mm ID x 30mm OD x 4mm Thk

2шт.

11

896-15012

WASHER,13.5mm ID x 28mm OD x 4mm Thk

4шт.

16

627-12040

BOLT,Hex, M12 x 1.75 x 40mm, Cl 10.9, Full Thd

8шт.

19

811-16060

CARRIAGE BOLT,Sht Sq Nk, M16 x 2 x 60mm, Cl 8.8

2шт.

20

827-12050

BOLT,Hex, M12 x 1.75 x 50mm, Cl 10.9

2шт.

Выбрано товаров: 0