Запчасти Case 750K (08-17) - CONTROLS - LEVER AND LINKAGE, FOURTH SPOOL (08) - HYDRAULICS

Схема запчастей Case 750K - (08-17) - CONTROLS - LEVER AND LINKAGE, FOURTH SPOOL (08) - HYDRAULICS
24
21
8
22
5
1
12
15
7
4
bs03f149
13
19
9
6
20
13
4
16
14
11
3
2
17
23
7
18
10
FIT
1:1
100%

Артикул

Название

Примечание

Количество

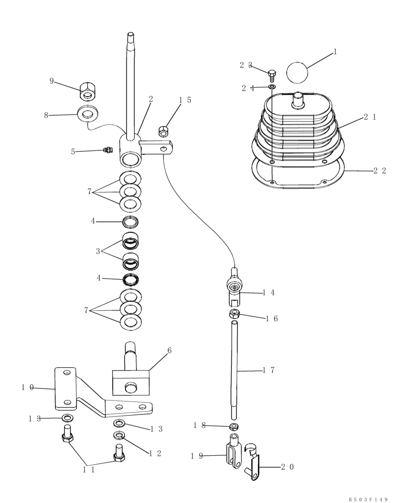
1

70213

KNOB

1шт.

2

432366A3

LEVER

Auxiliary; Incl. Ref 3 - 5

1шт.

3

L31166

NEEDLE BEARING

2шт.

4

65457C1

SEAL,19.04mm ID x 25.5mm OD x 3.17mm Thk

2шт.

5

219-8

LUBE NIPPLE,1/4" - 28 NPTF

1шт.

6

437131A1

ROLLER SHAFT

1шт.

7

1960614C1

WASHER,20mm ID x 35mm OD x 1.58mm Thk

Wear

6шт.

8

496-21066

WASHER,16.6mm ID x 33.5mm OD x 3.8mm Thk

1шт.

9

832-10416

NUT,M16 x 2, Cl 8

1шт.

10

437693A2

BRACKET

1шт.

11

614-10020

BOLT,Hex, M10 x 1.5 x 20mm, Cl 8.8, Full Thd

4шт.

12

892-11010

LOCK WASHER,M10

2шт.

13

895-18010

WASHER,10.5mm ID x 18mm OD x 1.6mm Thk

4шт.

14

R47940

BALL JOINT

3/8; Female; Left-Hand Thread

1шт.

15

232-4646

LOCK NUT,3/8"-24, GC

1шт.

16

425-116

NUT,3/8" - 24, Gr 5

1шт.

17

426919A3

LINKAGE

Rod; Auxiliary

1шт.

18

425-155

JAM NUT,Jam, 5/16"-24, G5

1шт.

19

437143A2

ADJUSTABLE CLEVIS,5/16" - 24

5/16

1шт.

20

427208A1

PIN ASSY.,7.9mm OD x 61.74mm L

5/16

1шт.

21

R47896

BOOT

1шт.

22

187174A1

RETAINER

1шт.

23

614-6025

BOLT,Hex, M6 x 1 x 25mm, Cl 8.8, Full Thd

4шт.

24

892-11006

LOCK WASHER,M6

4шт.

Выбрано товаров: 24