Качественные детали и логистика
Оригинальные и аналоговые запчасти с доставкой по России, Казахстану и Беларуси
©2022 PartSell ООО "Система" ИНН 2463123282 ОГРН 1212400004838
Центральный офис: г. Красноярск, Академика Киренского, д.87, пом.4
Телефон: 8 (800) 777-65-74 Email: zakaz@partsell.ru
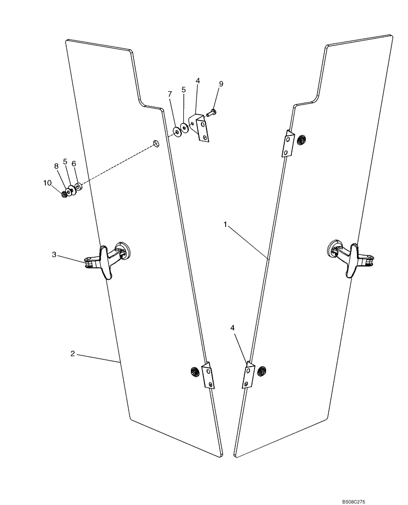
(09-27A) - CAB - WINDOW VENTS - HARDWARE
№
Артикул
Название
Примечание
Количество
1
87372050
WINDOW
Left-Hand Vent
1шт.
2
87372051
Right-Hand Vent
3
87397399
LATCH
Vent Window
2шт.
4
87397400
HINGE
4шт.
5
87615099
WASHER
Nylon
8шт.
6
87517926
BUSHING
Plastic
7
87517925
Foam
8
86624182
WASHER,6.6mm ID x 18mm OD x 1.6mm Thk
9
86511830
SCREW,Phillips Drive, Pan HD, M6 x 20mm, Cl 4.8
10
9804276
FLANGE NUT,Hex, M6 x 1, Cl 8
Выбрано товаров: 0