Запчасти Case 750K (02-24) - PISTONS - CONNECTING ROD (02) - ENGINE

Схема запчастей Case 750K - (02-24) - PISTONS - CONNECTING ROD (02) - ENGINE
3
2
1
3
4
FIT
1:1
100%

Артикул

Название

Примечание

Количество

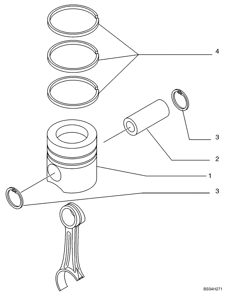
1

2855531

PISTON

Assy W/ Barcode; Replaces 4897980 W/O Barcode; Used on some models

4шт.

2

4892712

PISTON PIN,38mm OD x 82mm L

4шт.

3

4892713

SNAP RING,Int, M26.4

8шт.

3

2854030

SNAP RING,M40.8 OD

Alternate part to 4892713

8шт.

4

2852037

SEAL,95.3mm ID x 104mm OD x 4mm Thk

4шт.

4

2830158

PISTON RING,95.4mm ID x 104mm OD x 2.39mm Thk

4шт.

4

2852036

PISTON RING

4шт.

Выбрано товаров: 7