Запчасти Case 750K (04-16) - CONSOLE, FRONT - CAB (04) - ELECTRICAL SYSTEMS

Схема запчастей Case 750K - (04-16) - CONSOLE, FRONT - CAB (04) - ELECTRICAL SYSTEMS
6
11
9
1
12
3
2
3
2
10
8
FIT
1:1
100%

Артикул

Название

Примечание

Количество

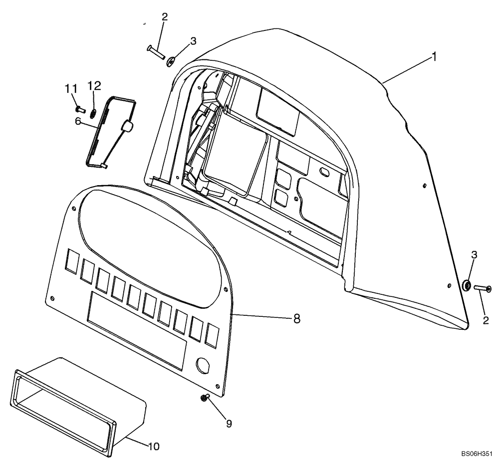
1

87565979

CONSOLE

Front Console

1шт.

2

543-713

SCREW,Phil Flat Hd, M6 x 35, 4.8

4шт.

3

79076208

WASHER

Nylon

4шт.

6

86984895

PROTECTIVE COVER

Outer

1шт.

8

86984892

FRONT PLATE

Face Plate, Front Console; Container Storage Hole Measures 183.5 x 54.5 mm; If Used

1шт.

8

87633955

FRONT PLATE

FRONT PLATE Face Plate, Front Console; Container Storage Hole Measures 185 x 58 mm; If Used

1шт.

9

540-712

SCREW,Cross Pan Hd, M5 x 12

4шт.

10

4417913

CONTAINER

1шт.

11

540-712

SCREW,Cross Pan Hd, M5 x 12

1шт.

12

87428441

RETAINER

M5

1шт.

Выбрано товаров: 10