Запчасти Case 750K (04-18) - LAMPS, ROPS CAB (04) - ELECTRICAL SYSTEMS

Схема запчастей Case 750K - (04-18) - LAMPS, ROPS CAB (04) - ELECTRICAL SYSTEMS
13
11
3
9
9
9
7
2
17
6
2
5
6
15
17
17
14
4
13
3
12
6
8
16
1
10
13
6
12
16
15
5
8
4
13
8
FIT
1:1
100%

Артикул

Название

Примечание

Количество

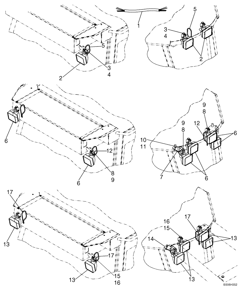
1

87370159

WIRE HARNESS

Cab Lamps

1шт.

REF

INSTRUCTION

STANDARD CAB LIGHT PACKAGE

1шт.

2

87584890

LIGHT ASSY.,Halogen, 12V, 55W, Clear

12V, 55W; Front and Rear Flood and Work Lamps; Incl. 1312210C2 Heavy Duty H-3 Bulb; (2 Front/1Rear)

3шт.

1312210C2

BULB,Halogen H3, 12V, 55W

12V, 55W, Heavy Duty H-3

1шт.

3

614-10016

BOLT,Hex, M10 x 1.5 x 16mm, Cl 8.8, Full Thd

3шт.

4

895-15010

WASHER,11mm ID x 24mm OD x 2mm Thk

3шт.

5

L18331

CABLE TIE,375.9mm L, Nylon, Black

CABLE STRAP

2шт.

REF

INSTRUCTION

CAB WORK LIGHTS WITHOUT SWEEPS

1шт.

6

87584890

LIGHT ASSY.,Halogen, 12V, 55W, Clear

12V, 55W; Front and Rear Flood and Work Lamps; Incl. 1312210C2 Heavy Duty H-3 Bulb; (2 Front/1Rear)

6шт.

1312210C2

BULB,Halogen H3, 12V, 55W

12V, 55W, Heavy Duty H-3

1шт.

7

87563194

BRACKET

Front Lamp Bracket

2шт.

8

614-10016

BOLT,Hex, M10 x 1.5 x 16mm, Cl 8.8, Full Thd

6шт.

9

895-15010

WASHER,11mm ID x 24mm OD x 2mm Thk

6шт.

10

627-16040

BOLT,Hex, M16 x 2 x 40mm, Cl 10.9, Full Thd

Bracket Mounting, Front Lamps

4шт.

11

896-11016

WASHER,17.5mm ID x 30mm OD x 4mm Thk

4шт.

12

L18331

CABLE TIE,375.9mm L, Nylon, Black

CABLE STRAP

4шт.

REF

INSTRUCTION

CAB WORK LIGHTS WITH SWEEPS

1шт.

13

87584890

LIGHT ASSY.,Halogen, 12V, 55W, Clear

12V, 55W; Front and Rear Flood and Work Lamps; Incl. 1312210C2 Heavy Duty H-3 Bulb; (2 Front/1Rear)

6шт.

1312210C2

BULB,Halogen H3, 12V, 55W

12V, 55W, Heavy Duty H-3

1шт.

13

47682620

WORK LAMP,Flood, LED, 12V

LAMP, WORK, LED

6шт.

14

87563194

BRACKET

Front Lamp Bracket; Uses Existing Sweep Hardware

2шт.

15

614-10016

BOLT,Hex, M10 x 1.5 x 16mm, Cl 8.8, Full Thd

6шт.

16

895-15010

WASHER,11mm ID x 24mm OD x 2mm Thk

6шт.

17

L11541

CABLE TIE,203.2mm L, Nylon

CABLE STRAP 7-8 Inch Nylon Strap

7шт.

Выбрано товаров: 24