Запчасти Case 750L (06-10) - CONTROLS, FORWARD AND REVERSE (06) - POWER TRAIN

Схема запчастей Case 750L - (06-10) - CONTROLS, FORWARD AND REVERSE (06) - POWER TRAIN
5
6
9
15
13
2
2a
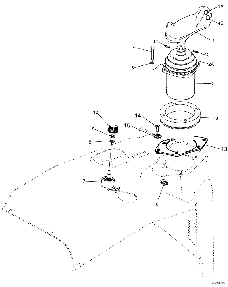
1
4
11
1a
1b
3
7
8
14
12
10
FIT
1:1
100%

Артикул

Название

Примечание

Количество

84231557

JOYSTICK

Incl. Ref 1, 1A, 1B, 2, 2A, 11, 12; Replaces 87389565

1шт.

84231557R

REMAN-JOYSTICK

Reman for New PN 84231557

1шт.

84231557C

CORE-JOYSTICK

Return Number

1шт.

87389565

CONTROL

Drive Control Handle Assembly; Forward/Neutral/Reverse (FNR); Incl. Ref 1, 2, 11, 12

1шт.

84231557R

REMAN-JOYSTICK

Reman for New PN 87389565

1шт.

84231557C

CORE-JOYSTICK

Return Number

1шт.

1

87400253

HANDLE GRIP

Two Button Speed Selection; NSS; Order 84231557

1шт.

1a

87416895

SWITCH

Push Button; Up

1шт.

1b

87416896

SWITCH

Push Button; Down

1шт.

87389568

CONTROL UNIT

Attaches to Main Harness; Incl. 2, 2A

1шт.

87389568R

REMAN ELECT CONTROL

750L TIER 3 (1/08-)

1шт.

87389568C

CORE-ELECTRONIC CONT

Return Number

1шт.

2

NSS

NOT SOLD SEPARAT

Base Assy, Drive Control

1шт.

2a

87408566

BOOT

Drive Control

1шт.

3

84215376

SPACER

Drive Control Adapter Plate, ABS Plastic

1шт.

4

614-6060

BOLT,Hex, M6 x 1 x 60mm, Cl 8.8, Full Thd

Replaces 614-6050 M6 x 50, 8.8; Bolt Used On Some Models

4шт.

5

892-11006

LOCK WASHER,M6

4шт.

6

76047274

NUT,M6 x 1

4шт.

7

87352928

SWITCH

Reverse Ratio Switch

1шт.

8

895-18010

WASHER,10.5mm ID x 18mm OD x 1.6mm Thk

1шт.

9

425-146

JAM NUT,3/8" - 16, Gr 5

1шт.

10

187820A1

KNOB

Knob, Reverse Ratio Switch

1шт.

11

878-50610

SET SCREW,Hex Skt, M6 x 10mm, Dog Pt

Use With Locktite 242

1шт.

12

878-1066

SET SCREW,Hex Skt, M6 x 6mm, Cup Pt

Use with Locktite 242

1шт.

13

87358579

PLATE, SUPPORT

Joystick Support

1шт.

14

87341593

SCREW,Oval Hd, Csk, M6 x 20mm, Cl 4.8

M6 x 20

2шт.

15

87377572

CUP WASHER

Nylon, 6 ID x 20 mm OD

2шт.

Выбрано товаров: 27