Запчасти Case 750L (08-20) - SECTION ASSEMBLY - LIFT (08) - HYDRAULICS

Схема запчастей Case 750L - (08-20) - SECTION ASSEMBLY - LIFT (08) - HYDRAULICS
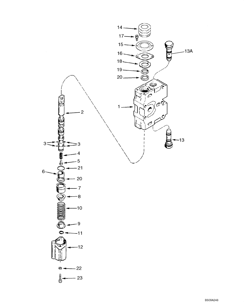
6
16
3
19
21
14
22
12
1
9
4
3
11
17
2
20
20
5
10
13a
18
23
7
15
13
8
FIT
1:1
100%

Артикул

Название

Примечание

Количество

87402656

HYD VALVE SECTION

Lift; Incl. Ref 1 - 23

1шт.

1

NSS

NOT SOLD SEPARAT

Housing

1шт.

2

NSS

NOT SOLD SEPARAT

Spool

1шт.

3

211-1007

BALL,7/32" Dia

4шт.

4

100848A1

SPRING

1шт.

5

N7035

VALVE POPPET

1шт.

6

S301097

SLEEVE VALVE

1шт.

7

100847A1

SLEEVE

Detent

1шт.

8

100845A1

COLLAR

Upper

1шт.

9

N7033

SEAT

Lower

1шт.

10

394605A1

SPRING

1шт.

11

100-1162

SNAP RING,#62, Ext

1шт.

12

S301093

CAP

1шт.

13

D87307

VALVE

Load Check; See Figure 08-22

1шт.

13a

122119A1

KIT

Anti-Cavitation; See Figure 08-22

1шт.

352798A1

PACKAGE, REPAIR

Incl. Ref 14 - 23

1шт.

14

357164A1

BOOT

1шт.

15

357163A1

RETAINER

1шт.

16

N8194

LARGE PLATE

PLATE, LARGE

1шт.

17

61-3258

HEX SOC SCREW,1/4"-20 x 1/2"

2шт.

18

D88730

WASHER,0.77" ID x 1.43" OD

1шт.

19

D88729

WASHER,0.76" ID x 1" OD x 0.05" Thk

1шт.

20

238-5210

O-RING,0.139" Thk x 0.734" ID, -210, Cl 5, 75 Duro

2шт.

21

238-5121

O-RING,0.103" Thk x 1.049" ID, -121, Cl 5, 75 Duro

1шт.

22

357162A1

PLATE

2шт.

23

61-32514

HEX SOC SCREW,1/4"-20 x 7/8"

2шт.

Выбрано товаров: 26