Запчасти Case 750L (08-21) - SECTION ASSEMBLY - TILT, ANGLE, AND AUXILIARY (08) - HYDRAULICS

Схема запчастей Case 750L - (08-21) - SECTION ASSEMBLY - TILT, ANGLE, AND AUXILIARY (08) - HYDRAULICS
5
11
16
7a
8
13
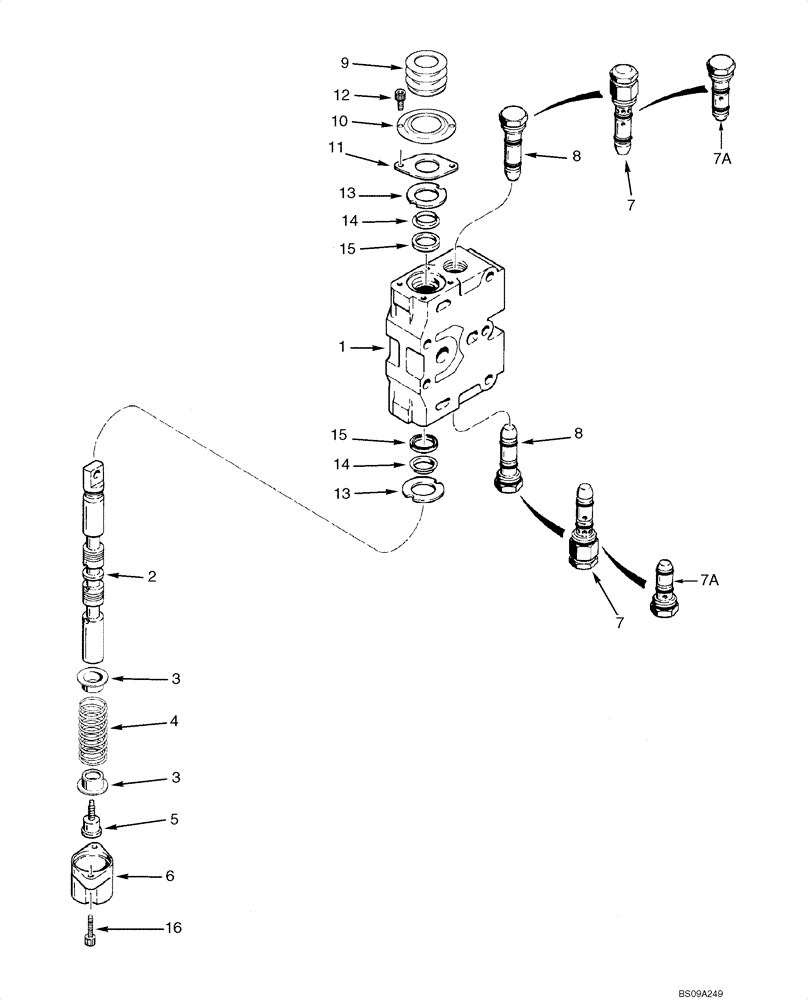
2
7a
4
10
15
12
15
3
3
13
14
8
9
6
1
14
7
7
FIT
1:1
100%

Артикул

Название

Примечание

Количество

87402657

HYD VALVE SECTION

Tilt; Incl. Ref 1 - 6, 8, 9 - 16

1шт.

87402658

HYD VALVE SECTION

Angle; Incl. Ref 1 - 6, 7A, 9 - 16

1шт.

87402659

HYD VALVE SECTION

Auxiliary/Ripper; Incl. Ref 1 - 6, 7, 9 - 16

1шт.

1

NSS

NOT SOLD SEPARAT

Housing

1шт.

2

NSS

NOT SOLD SEPARAT

Spool

1шт.

3

H267591

SPRING SEAT

2шт.

4

100854A1

SPRING

1шт.

5

N14593

STEP BOLT

1шт.

6

S301092

FLANGE COVER CAP

1шт.

7

N8950

VALVE

Relief Valve; Auxiliary/Ripper Section; See Figure 08-23

2шт.

7a

122119A1

KIT

Anti-Cavitation Valve; Angle Section; See Figure 08-22

2шт.

8

D87307

VALVE

Load Check Valve; Tilt Section; See Figure 08-22

2шт.

352796A1

PACKAGE

Repair Kit; Incl. Ref 9 - 16

1шт.

9

357164A1

BOOT

1шт.

10

357163A1

RETAINER

1шт.

11

N8194

LARGE PLATE

PLATE, LARGE

1шт.

12

61-3258

HEX SOC SCREW,1/4"-20 x 1/2"

2шт.

13

D88730

WASHER,0.77" ID x 1.43" OD

2шт.

14

D88729

WASHER,0.76" ID x 1" OD x 0.05" Thk

2шт.

15

9706714

O-RING,0.139" Thk x 0.734" ID, -210, Cl 5, 75 Duro

2шт.

16

102201A1

HEX SOC SCREW,1/4" - 20 x 7/8", W/ Nylon Patch

2шт.

Выбрано товаров: 21