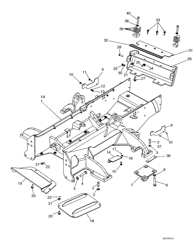
Запчасти Case 750L (09-08) - FRAME, MAIN (09) - CHASSIS/ATTACHMENTS

Схема запчастей Case 750L - (09-08) - FRAME, MAIN (09) - CHASSIS/ATTACHMENTS
2
4
7
22
10
22
20
1
20
26
40
9
39
21
33
34
1a
8
15
11
16
37
2
18
35
5
38
28
27
12
21
21
9
17
36
13
29
10
31
6
3
30
32
3
14
19
FIT
1:1
100%

Артикул

Название

Примечание

Количество

1

87598735

FRAME

FRAME ASSY., Chassis; Lower; Long Track (LT) Models

1шт.

1a

87598758

FRAME

FRAME ASSY., Chassis; Lower; Wide Track (WT) or Low Ground Pressure (LGP) Models; Not Illustrated

1шт.

2

410-91240

BOLT,Hex, 3/4" - 10 x 2 1/2", Gr 8

3/4-10 x 2.5

16шт.

3

496-41081

WASHER,13/16" x 1 3/4" x .219", HDN

16шт.

4

410-91640

BOLT,Hex, 1" - 8 x 2 1/2", Gr 8

4шт.

5

496-31106

WASHER,1 1/16" x 2" x .219", HDN

4шт.

6

627-20060

BOLT,Hex, M20 x 2.5 x 60mm, Cl 10.9, Full Thd

Used with Ref 7

4шт.

7

450473A1

HOOK

Towing

1шт.

8

896-11020

WASHER,22mm ID x 37mm OD x 4mm Thk

4шт.

9

436724A1

FIXING PLATE

2шт.

10

711-10030

CARRIAGE BOLT,Sq Nk, M10 x 1.5 x 30mm, Cl 8.8

3шт.

11

711-10050

CARRIAGE BOLT,Sq Nk, M10 x 1.5 x 50mm, Cl 8.8

Replaces 811-10035 Bolt, Short M10 x 35, Ussed On Some Models

1шт.

12

896-11010

WASHER,11mm ID x 21mm OD x 2.5mm Thk

4шт.

13

832-10410

NUT,M10 x 1.5, Cl 8

4шт.

14

87601235

GUARD ASSY.

PLATE, COVER, Oil Drain

1шт.

15

857-12030

BOLT,Hvy Hex, M12 x 30mm, Cl 10.9

2шт.

16

87447306

SQUARE NUT,M12 x 21mm x 21mm x 11mm H ZND Cl 5A

Cage

2шт.

17

336371A1

PIN,4.88mm OD x 14.23mm L

Nut Retainer

2шт.

18

87435886

PAN ASSY.

Center

1шт.

19

87435884

PAN

Rear

1шт.

20

857-16040

BOLT,Hvy Hex, M16 x 40mm, Cl 10.9

8шт.

21

405737A2

SQUARE NUT,M16 x 26mm x 26mm x 16mm H ZND CL 5A

8шт.

22

336371A1

PIN,4.88mm OD x 14.23mm L

Nut Retainer

8шт.

26

87617114

PLATE

Front Bumper

1шт.

27

854-16040

BOLT,Hvy Hex, M16 x 40mm, Cl 10.9

2шт.

28

811-12050

CARRIAGE BOLT,Sht Sq Nk, M12 x 1.75 x 50mm, Cl 8.8

2шт.

29

895-15012

WASHER,M12 x 28 x 2.5

2шт.

30

832-10412

NUT,M12 x 1.75, Cl 8

2шт.

31

87733785

PLATE

PLATE, Lower Radiator; Used With Front Bumper

1шт.

32

87731498

SEAL

SEAL

1шт.

33

854-12040

BOLT,Hvy Hex, M12 x 40mm, Cl 10.9

3шт.

34

87447306

SQUARE NUT,M12 x 21mm x 21mm x 11mm H ZND Cl 5A

3шт.

35

336371A1

PIN,4.88mm OD x 14.23mm L

Nut Retainer

5шт.

36

87565113

MOUNTING PLATE

Plate, Track Mount; 12 mm Thk; Used W/ 87566824 Track Kit, See Fig 05-02A

8шт.

37

410-91248

BOLT,Hex, 3/4" - 10 x 3", Gr 8

3/4-10 x 3.0 ; Used W/ Ref 36 87565113

16шт.

38

896-11016

WASHER,17.5mm ID x 30mm OD x 4mm Thk

2шт.

39

87618605

SHIM

SHIM, Side Wrapper

8шт.

40

86577946

BOLT,Hex, M16 x 80mm x 10.9

2шт.

Выбрано товаров: 38