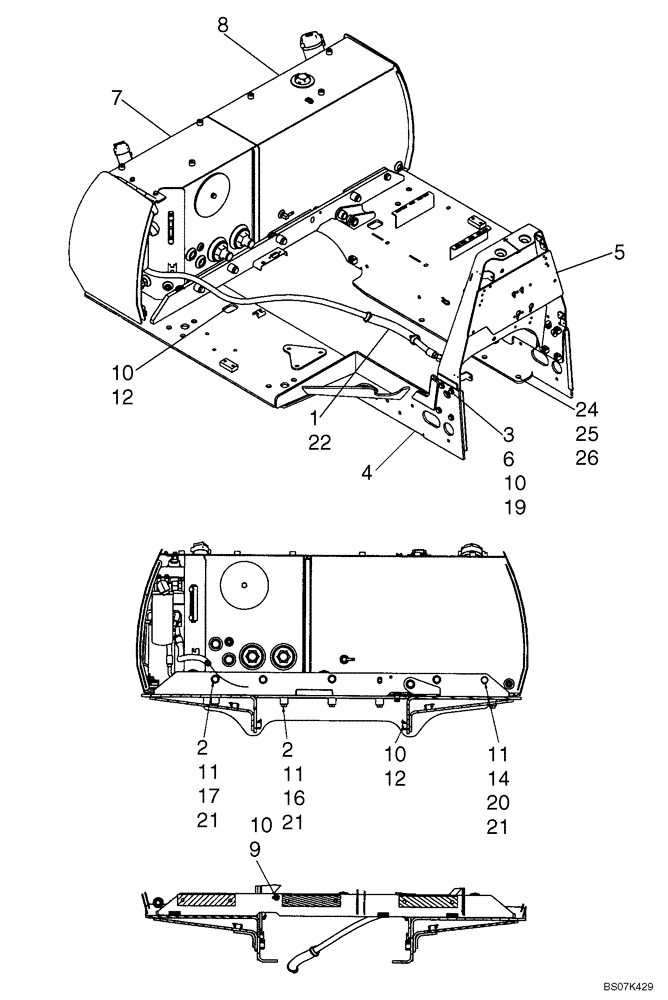
Запчасти Case 750L (09-09) - MOUNTING - FUEL TANK/HYDRAULIC RESERVOIR (09) - CHASSIS/ATTACHMENTS

Схема запчастей Case 750L - (09-09) - MOUNTING - FUEL TANK/HYDRAULIC RESERVOIR (09) - CHASSIS/ATTACHMENTS
5
10
24
20
3
26
8
25
9
14
4
10
22
11
19
17
2
1
10
2
21
10
11
21
16
7
12
12
6
11
21
FIT
1:1
100%

Артикул

Название

Примечание

Количество

1

87313817

CONDUIT

1шт.

2

87440363

SPACER,17.5mm ID x 34.9mm OD x 29mm L

10шт.

3

87447306

SQUARE NUT,M12 x 21mm x 21mm x 11mm H ZND Cl 5A

8шт.

4

87748730

FRAME

FRAME, Upper; Replaces 87579626

1шт.

5

87579634

PLATE

PLATE ASSY.

1шт.

6

87584292

BOLT,Hex, M12 x 40mm, Cl 10.9

Locking

8шт.

7

87695045

TANK ASSY., Hydraulic

1шт.

8

87695110

FUEL TANK

TANK ASSY., Fuel

1шт.

9

122958A1

SQUARE NUT

1шт.

10

336371A1

PIN,4.88mm OD x 14.23mm L

17шт.

11

345-148

SEALANT, THREAD

11шт.

12

405737A2

SQUARE NUT,M16 x 26mm x 26mm x 16mm H ZND CL 5A

8шт.

14

614-16040

BOLT,Hex, M16 x 2 x 40mm, Cl 8.8, Full Thd

1шт.

16

814-16055

BOLT,Hex, M16 x 2 x 55mm, Cl 8.8

5шт.

17

814-16065

BOLT,Hex, M16 x 2 x 65mm, Cl 8.8

5шт.

19

895-15012

WASHER,M12 x 28 x 2.5

8шт.

20

896-11016

WASHER,17.5mm ID x 30mm OD x 4mm Thk

1шт.

21

D44330

SHIM,.031" Thk

12шт.

22

L11541

CABLE TIE,203.2mm L, Nylon

CABLE STRAP

2шт.

REF

INSTRUCTION

FOLLOWING COMPONENTS ARE FOR MOUNTING UPPER FRAME TO LOWER FRAME

1шт.

24

87535798

SQUARE NUT

6шт.

25

627-20060

BOLT,Hex, M20 x 2.5 x 60mm, Cl 10.9, Full Thd

6шт.

26

896-15020

WASHER,22mm ID x 44mm OD x 5mm Thk

6шт.

Выбрано товаров: 23