Запчасти Case 750L (09-27A) - CAB - WINDOW VENTS - HARDWARE (09) - CHASSIS/ATTACHMENTS

Схема запчастей Case 750L - (09-27A) - CAB - WINDOW VENTS - HARDWARE (09) - CHASSIS/ATTACHMENTS
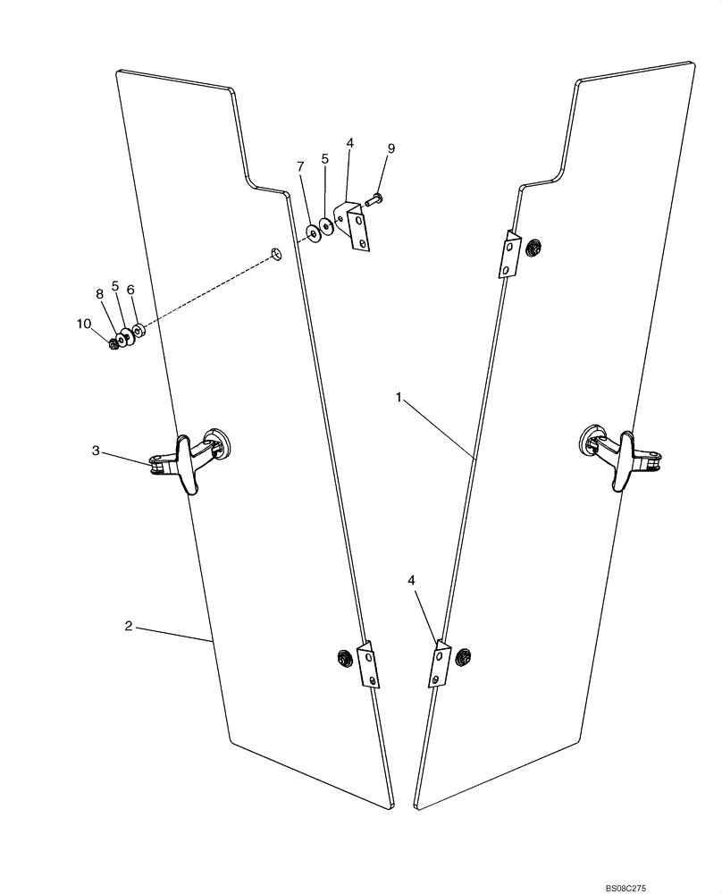
6
3
8
4
5
10
2
5
1
9
4
7
FIT
1:1
100%

Артикул

Название

Примечание

Количество

1

87372050

WINDOW

Left-Hand Vent

1шт.

2

87372051

WINDOW

Right-Hand Vent

1шт.

3

87397399

LATCH

Vent Window

2шт.

4

87397400

HINGE

Vent Window

4шт.

5

87615099

WASHER

Nylon

8шт.

6

87517926

BUSHING

Plastic

4шт.

7

87517925

WASHER

Foam

4шт.

8

86624182

WASHER,6.6mm ID x 18mm OD x 1.6mm Thk

4шт.

9

86511830

SCREW,Phillips Drive, Pan HD, M6 x 20mm, Cl 4.8

4шт.

10

9804276

FLANGE NUT,Hex, M6 x 1, Cl 8

4шт.

Выбрано товаров: 10