Запчасти Case 750L (04-03) - THROTTLE, ELECTRIC (04) - ELECTRICAL SYSTEMS

Схема запчастей Case 750L - (04-03) - THROTTLE, ELECTRIC (04) - ELECTRICAL SYSTEMS
2
5
1
4
4
6
3
FIT
1:1
100%

Артикул

Название

Примечание

Количество

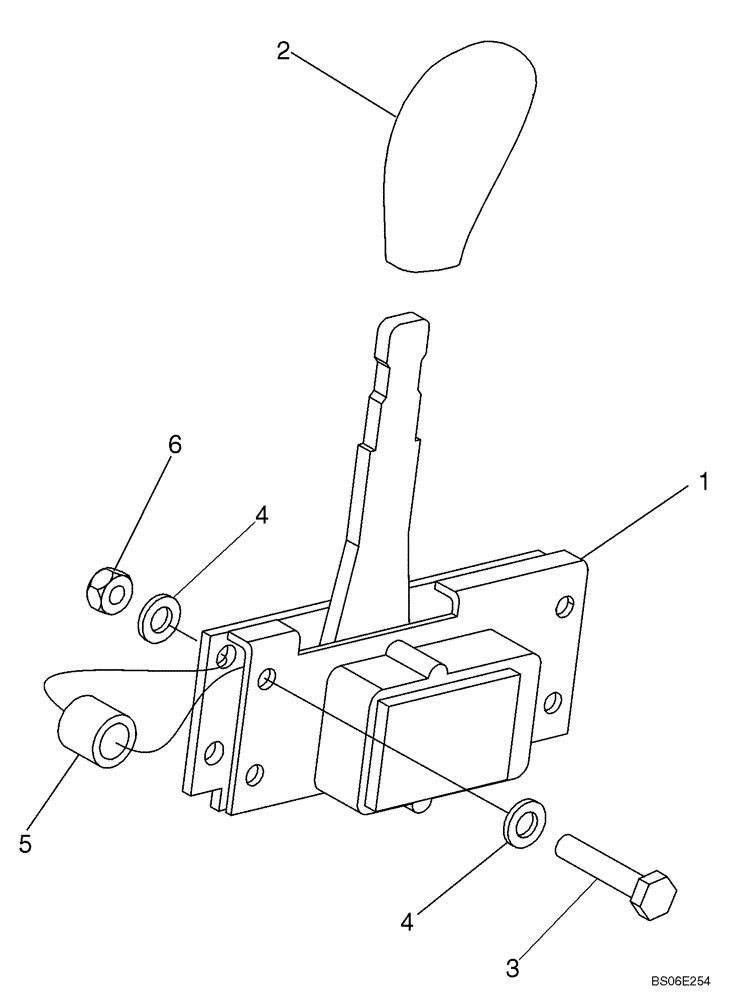
1

87270767

THROTTLE

Electric Throttle, Mounts on Left-Hand Console; See Figure 06-10 for Forward/Reverse Control

1шт.

2

116756A1

BUTTON

Knob, Throttle Handle

1шт.

3

86508566

BOLT,Hex, M5 x 30mm, Cl 8.8

4шт.

4

895-11005

WASHER,5.5mm ID x 10mm OD x 1mm Thk

4шт.

5

23323H

SPACER,1/4" Pipe x 1/2"

4шт.

6

832-10405

NUT,M5 x .8, Cl 8

4шт.

Выбрано товаров: 0