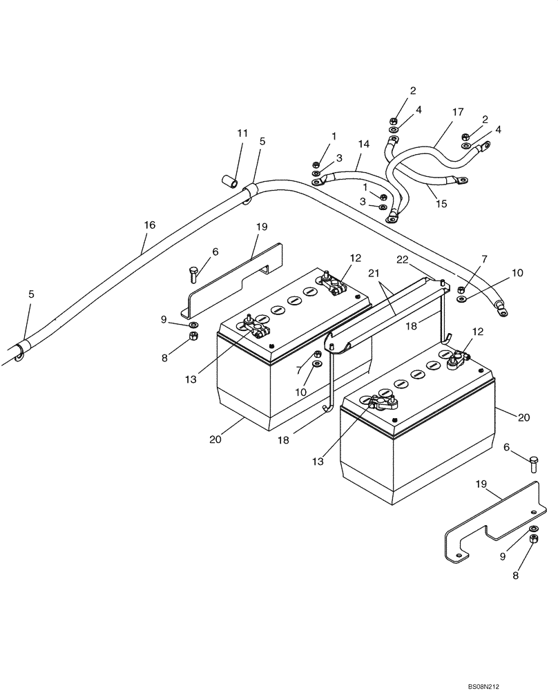
Запчасти Case 750L (04-06[01]) - BATTERY, DUAL - CANOPY, ROPS AND CAB (IF USED) (04) - ELECTRICAL SYSTEMS

Схема запчастей Case 750L - (04-06[01]) - BATTERY, DUAL - CANOPY, ROPS AND CAB (IF USED) (04) - ELECTRICAL SYSTEMS
13
21
8
3
9
12
6
20
12
9
6
16
3
2
17
1
2
1
10
18
4
22
7
7
10
19
4
20
15
14
5
8
5
11
18
19
13
FIT
1:1
100%

Артикул

Название

Примечание

Количество

1

425-105

NUT,5/16"-18, G5

2шт.

2

425-106

NUT,3/8"-16, Cl 5

2шт.

3

495-11034

WASHER,5/16", SAE

2шт.

4

495-11041

WASHER,0.406" ID x 0.812" OD x 0.065" W

2шт.

5

515-25238

CLAMP,15/16", Insul, 1/2" Bolt

2шт.

6

614-10030

BOLT,Hex, M10 x 1.5 x 30mm, Cl 8.8, Full Thd

4шт.

7

832-10408

NUT,M8 x 1.25, Cl 8.8

2шт.

8

832-10410

NUT,M10 x 1.5, Cl 8

4шт.

9

895-11010

WASHER,11mm ID x 20mm OD x 2mm Thk

4шт.

10

896-15008

WASHER,9mm ID x 21mm OD x 2.5mm Thk

2шт.

11

87302880

SPACER,13.5mm ID x 19mm OD x 30.2mm L

1шт.

12

87656128

CLAMP

2шт.

13

87682197

CLAMP

2шт.

14

87685900

NEG BATTERY CABLE

280 mm

1шт.

15

87685901

CABLE

Battery (POS) 280 mm

1шт.

16

87717885

ELECTRIC CABLE

2518 mm (99 - 3/16 in)

1шт.

17

87740911

NEG BATTERY CABLE

375 mm (14 - 3/4 in)

1шт.

18

416297A1

ROD

2шт.

19

417789A1

ANGLE

2шт.

20

BMF31EW

WET BATTERY

For US Only

2шт.

20

CCMF31EW

WET BATTERY

For Canada Only

2шт.

21

D40442

MOLDING

2шт.

22

R46490

BRACKET

1шт.

Выбрано товаров: 0