Запчасти Case 750L (04-14) - HARNESS, MICROCONTROLLER (04) - ELECTRICAL SYSTEMS

Схема запчастей Case 750L - (04-14) - HARNESS, MICROCONTROLLER (04) - ELECTRICAL SYSTEMS
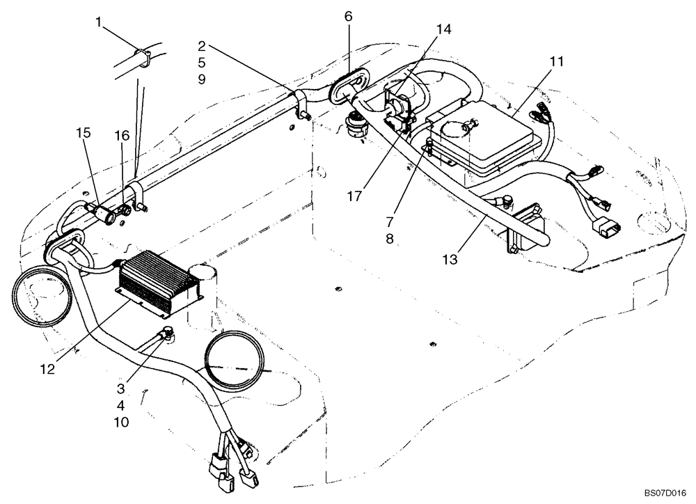
3
8
11
16
5
14
6
10
9
15
1
13
4
7
12
2
17
FIT
1:1
100%

Артикул

Название

Примечание

Количество

1

L11541

CABLE TIE,203.2mm L, Nylon

CABLE STRAP Cab Models

6шт.

2

515-24302

CLAMP,1 3/16", Insul, 7/16" Bolt

(30.2mm; M10 Bolt); Canopy Models

2шт.

3

43138

BOLT,Hex, M10 x 1.5 x 20mm, Cl 8.8

2шт.

4

140028

WASHER,10.2mm ID x 18.1mm OD x 2.2mm Thk

2шт.

5

9861444

BOLT,Hex, M10 x 1.5 x 20mm, Cl 10.9

M10 x 20; Canopy Models

2шт.

6

76067249

SHIELD

SEAL; Lockout Lever; Canopy Models

2шт.

7

86508617

BOLT,Hex, M6 x 1 x 30mm, Cl 10.9

M6 x 30

2шт.

8

86588450

WASHER,6.6mm ID x 12mm OD x 1.6mm Thk

2шт.

9

86625253

WASHER,11mm ID x 24mm OD x 2mm Thk

Canopy Models

2шт.

10

86632602

LOCK WASHER,Ext Tooth, M10

External Tooth Lock

2шт.

11

87313557

CONTROL UNIT

Micro Controller, RC6-9

1шт.

87313557R

REMAN ELECT CONTROL

750L- TIER 3 (1/08-)

1шт.

87313557C

CORE-ELECTRONIC CONT

Return Number

1шт.

12

87318825

CONVERTER,24V To 12V

Power, 24V/12V; Use 345-127 Tape Double Sided Adhesive

1шт.

13

87370147

WIRE HARNESS

Main and Micro Controller; Cab or Canopy

1шт.

14

87550990

BRACKET

Connector Holddown Bracket

1шт.

15

283779A1

POWER SOCKET,12V

30 amp Maximum

1шт.

16

283781A1

CAP,Polyester Elastomer

Power Plug Outlet

1шт.

17

329032A1

SELF-TAP SCREW,Hex WAHR HD TPG #10 x 0.375 END TT

Hex Washer Head, No. 10 x 3/8

4шт.

Выбрано товаров: 19