Запчасти Case 750L (04-19[02]) - HARNESS, CANOPY (IF USED) (04) - ELECTRICAL SYSTEMS

Схема запчастей Case 750L - (04-19[02]) - HARNESS, CANOPY (IF USED) (04) - ELECTRICAL SYSTEMS
9
1
11
6
10
7
5
3
4
8
2
12
13
FIT
1:1
100%

Артикул

Название

Примечание

Количество

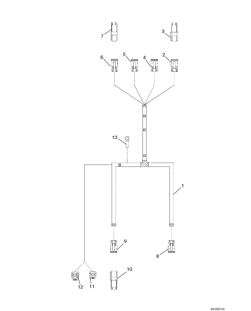
1

87746194

HARNESS, Canopy Lights; Includes Ref 2-12

1шт.

2

225315C1

ELEC CONNECTOR,Male, 2 Pin

Front Right Lower Worklight

1шт.

3

225318C1

ELEC CONNECTOR,2 Pin

Dustcap; Use With Ref 2

1шт.

4

225315C1

ELEC CONNECTOR,Male, 2 Pin

Front Right Upper Worklight

1шт.

5

225315C1

ELEC CONNECTOR,Male, 2 Pin

Front Left Upper Worklight

1шт.

6

225315C1

ELEC CONNECTOR,Male, 2 Pin

Front Left Lower Worklight

1шт.

7

225318C1

ELEC CONNECTOR,2 Pin

Dustcal, Use With Ref 6

1шт.

8

225315C1

ELEC CONNECTOR,Male, 2 Pin

Rear Right Worklight

1шт.

9

225315C1

ELEC CONNECTOR,Male, 2 Pin

Rear Left Worklight

1шт.

10

225318C1

ELEC CONNECTOR,2 Pin

Dustcap, Use With Ref 9

1шт.

11

87448370

WIRE CONNECTOR

CONNECTOR, To Mirco Harness (4 Receptacles)

1шт.

12

225352C1

WEDGE

CONNECTOR, To Mirco Harness (6 Receptacles)

1шт.

Выбрано товаров: 12