Запчасти Case 750M WT (48.134.010) - VAR - 784813 - UNDERCARRIAGE, DOUBLE FLANGE (48) - TRACKS & TRACK SUSPENSION

Схема запчастей Case 750M WT - (48.134.010) - VAR - 784813 - UNDERCARRIAGE, DOUBLE FLANGE (48) - TRACKS & TRACK SUSPENSION
3
6
1
2
5
4
3
8
3
48.134.030
11
11
9
2
3
48.134.020
7
10
FIT
1:1
100%

Артикул

Название

Примечание

Количество

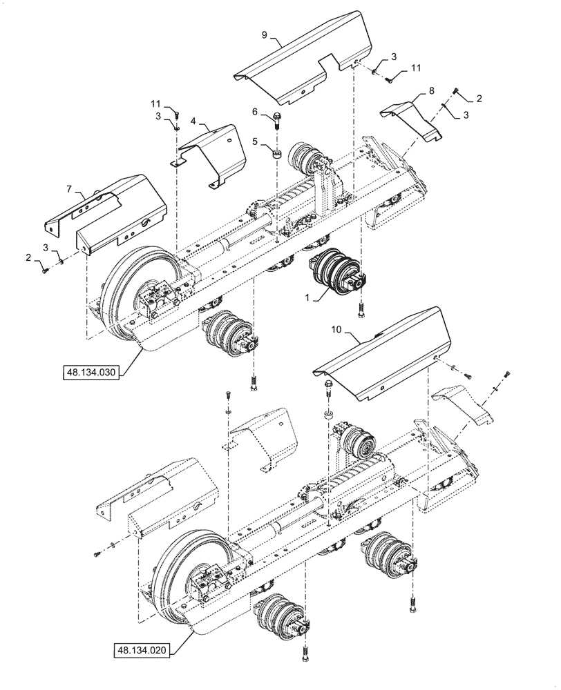
1

47950633

TRACK ROLLER

Double Flange

4шт.

2

300388

BOLT,Hex, M12 x 1.75 x 25mm, Cl 8.8

12шт.

3

86625256

WASHER,13.3mm ID x 28.5mm OD x 4mm Thk

36шт.

4

47777767

COVER

Front

2шт.

5

48023598

SPACER,22mm ID x 44mm OD x 25mm H

20шт.

6

84415414

BOLT,M20 x 98.9mm OAL, Full Thd, Cl 10.9

20шт.

7

47778019

COVER

Idler

2шт.

8

47778032

COVER

Rear

2шт.

9

47933668

COVER

RH, Center

1шт.

10

47933666

COVER

LH, Center

1шт.

11

9706687

BOLT,M12 x 1.75 x 30mm, Cl 8.8

24шт.

Выбрано товаров: 11