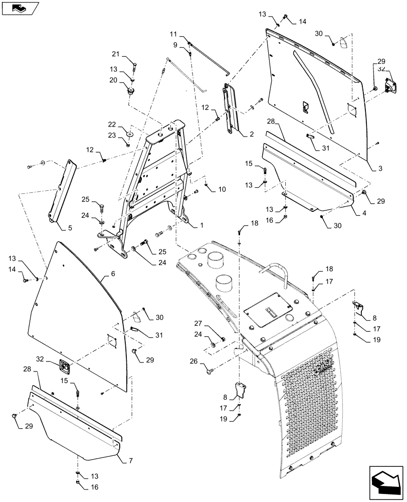
Запчасти Case 750M WT/LGP (90.100.AU[03]) - HOOD, SIDE PANEL -DETACHED- (90) - PLATFORM, CAB, BODYWORK AND DECALS

Схема запчастей Case 750M WT/LGP - (90.100.AU[03]) - HOOD, SIDE PANEL -DETACHED- (90) - PLATFORM, CAB, BODYWORK AND DECALS
21
11
29
14
12
27
4
31
28
29
15
30
13
9
31
13
13
8
23
25
30
32
8
13
14
10
17
15
17
19
2
28
16
13
24
30
22
19
5
12
24
26
32
18
29
29
1
17
home
13
18
3
7
6
24
25
16
20
FIT
1:1
100%

Артикул

Название

Примечание

Количество

1

47520457

PLATE

Cowl Plate

1шт.

2

84401692

HINGE

Plate Door Hinge LH

1шт.

3

47502104

DOOR

Door LH

1шт.

4

84601203

PLATE

LH Side Shield

1шт.

5

84416648

HINGE

Plate Door Hinge RH

1шт.

6

47502108

DOOR

RH Door

1шт.

7

84601206

PLATE

RH Side Shield

1шт.

8

47478745

PLATE

Plate Door Latch

2шт.

9

109498A1

STUD

Stud Ball

2шт.

10

86521605

FLANGE NUT,5/16"-18, Cl 5

2шт.

11

87308889

ROD

Door Prop Rod

2шт.

12

85825181

INSERT

Threaded Insert

12шт.

13

87655043

WASHER,M12, 13.65mm ID x 24.90mm OD x 3.20mm, HT Boron, ZNM

M12 1/2" 13.65" Nomial ID

22шт.

14

398792

SCREW,Hex, M12 x 25mm, Cl 10.9

12шт.

15

418479A2

PIN

Side Sheild Pin

4шт.

16

87497916

NUT

12mm Nomial ISO Prevailing Torque Nut

4шт.

17

87655042

SPECIAL WASHER,8.8mm ID x 17.5mm OD x 2.2mm Thk

8шт.

18

43234

BOLT,Hex, M8 x 1.25 x 25mm, Cl 10.9, Full Thd

4шт.

19

43362

NUT,M8 x 1.25, Cl 10

4шт.

20

R29799

SHOCK ABSORBER

Insulator Radiator Isolator

2шт.

21

43263

BOLT,Hex, M12 x 1.75 x 60mm, Cl 10.9

2шт.

22

R40262

WASHER,13.11mm ID x 47.75mm OD x 2.38mm Thk

.516 ID Heat Treated Washer

2шт.

23

87497918

NUT

12mm Nomial size Prevailing Torque Nut

2шт.

24

86639326

WASHER,17.3mm ID x 34.5mm OD x 5mm Thk

10шт.

25

86508624

BOLT,Hex, M16 x 45mm, Cl 10.9

6шт.

26

86595832

CARRIAGE BOLT,Sht Sq Nk, M16 x 40mm, Cl 8.8, Full Thd

4шт.

27

392530

NUT,M16, Cl 10

4шт.

28

A161780

BUMPER

Rubber

2шт.

29

84469097

BUMPER

5/16 - 18 UNC Bumper

8шт.

30

86637931

JAM NUT,Jam, 5/16"-18, G5

4шт.

31

47447084

LATCH

Cam

2шт.

32

47433308

LATCH

Door

2шт.

Выбрано товаров: 32