Запчасти Case 650 (9-42) - NOISE REDUCTION PADS (09) - CHASSIS/ATTACHMENTS

Схема запчастей Case 650 - (9-42) - NOISE REDUCTION PADS (09) - CHASSIS/ATTACHMENTS
10
6b
4
7
6
5
1
6a
8
9
3
2
FIT
1:1
100%

Артикул

Название

Примечание

Количество

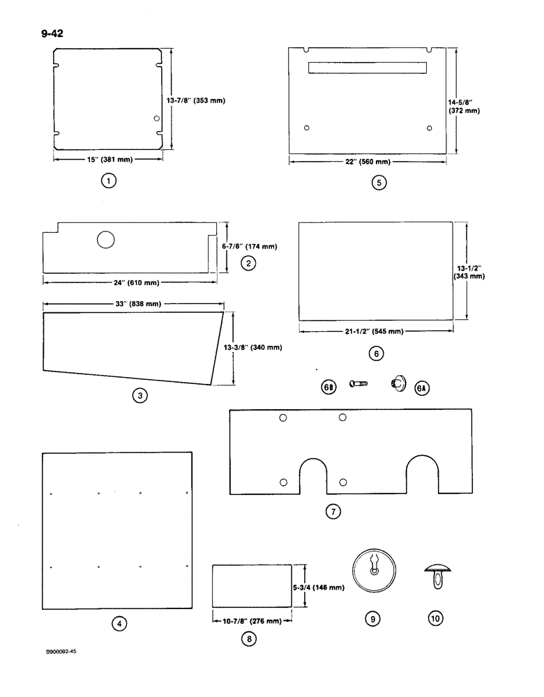
1

REF

INSTRUCTION

PAD - control valve top cover, cut from R30870

1шт.

2

REF

INSTRUCTION

PAD - heel plate, cut from R30870

1шт.

3

REF

INSTRUCTION

PAD - hood sides, cut from R30870

2шт.

4

R48895

NOISE PROTECTION

HEADLINER - ROPS canopy roof, vinyl covered

1шт.

5

REF

INSTRUCTION

PAD - seat mounting plate, cut from R30870

1шт.

6

REF

INSTRUCTION

PAD - battery cover plate, cut from R30870

1шт.

6a

R37161

RETAINER

- pad, battery cover plate, used with item 6B screw

4шт.

6b

182-561

SCREW,Slotted Pan Hd, #10-24 x 3/4"

- machine, pan head slotted, No. 10 NC x 3/4 inch

4шт.

7

R57000

PAD

- top of right-hand hood

1шт.

8

REF

INSTRUCTION

PAD - top of left-hand hood, front and rear, cut from R30870

2шт.

9

R37160

RETAINER

- spring clip, used with hood pads and seat mounting plate pad

24шт.

10

151-706

CLIP,Rd 7/8" Hd, 1/4" Hole

RETAINER - pad, black, plastic, used with ROPS canopy headliner

8шт.

R30870

PAD

- bulk, 54 (1372 mm) x 72 (1829 mm) x 1 inch (25 mm)

1шт.

345-44

ADHESIVE

- for attaching foam pads to metal surfaces, spray can, 19-1/2 fluid ounces

1шт.

Выбрано товаров: 14