Запчасти Case 650 (4-20) - INCANDESCENT LAMPS AND WIRING, MODELS WITHOUT ROPS CANOPY (04) - ELECTRICAL SYSTEMS

Схема запчастей Case 650 - (4-20) - INCANDESCENT LAMPS AND WIRING, MODELS WITHOUT ROPS CANOPY (04) - ELECTRICAL SYSTEMS
10
2
3
17
9
14
1
15
11
5
3
8
6
16
7
8
4
4
12
13
6
9
7
5
FIT
1:1
100%

Артикул

Название

Примечание

Количество

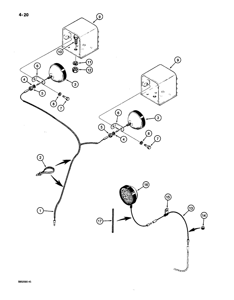
1

R56982

ELECTRICAL WIRE

WIRE - front, front wiring harness to head lamps

1шт.

2

L18337

CABLE TIE,9.95"-12.1" lg

STRAP - tie, 15 inch, nylon

1шт.

3

D88547

LAMP BASE

LAMP ASSEMBLY - head, parts list Figure 4-24

2шт.

4

80679

LOCK WASHER,1/20.507 CST ZND

WASHER, LOCK, 1/2"

2шт.

5

425-108

NUT,1/2" - 13, Gr 5

NUT, , Hex 1/2"-13, G5

2шт.

6

R27714

BRACKET

- head lamp mounting

2шт.

7

413-816

BOLT,Hex, 1/2" - 13 x 1", Gr 5

2шт.

8

80679

LOCK WASHER,1/20.507 CST ZND

WASHER, LOCK, 1/2"

2шт.

9

NLS

NO LONGER SERVICED

- head lamp

2шт.

10

413-1228

BOLT,Hex, 3/4" - 10 x 1-3/4", Gr 5

- hex, 3/4 NC x 1-3/4 inch

4шт.

11

492-11075

LOCK WASHER,3/4"

3/4"

4шт.

12

425-1012

NUT,3/4"-10, G5

- hex, 3/4 inch NC

4шт.

13

R51427

ELECTRICAL WIRE

WIRE - rear, harness to rear lamp assembly

1шт.

14

A23870

GROMMET

- rear wire

1шт.

15

51200330

CLAMP

- rear wire

1шт.

16

D34934

LAMP

ASSEMBLY - rear, parts list Figure 4-24, assembly includes mounting hardware

1шт.

17

D34933

LOOM

- lamp wire

2шт.

Выбрано товаров: 17