Запчасти Case 650 (4-22) - HALOGEN LAMPS AND WIRING, MODELS WITH ROPS CANOPY (04) - ELECTRICAL SYSTEMS

Схема запчастей Case 650 - (4-22) - HALOGEN LAMPS AND WIRING, MODELS WITH ROPS CANOPY (04) - ELECTRICAL SYSTEMS
10
10
2
8
6
10
6
7
8
1
9
9
6
4
1
7
7
5
7
3
5
FIT
1:1
100%

Артикул

Название

Примечание

Количество

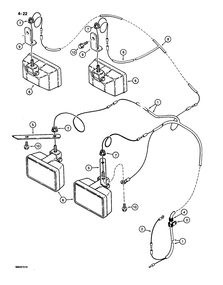
1

R56957

HARNESS

- front, Serial Range: harness-lamps

1шт.

2

R47747

ELECTRICAL WIRE

WIRE - ground, rear lamp harness

1шт.

3

515-2363

CLAMP,M6.3, Insul, 3/8" Bolt

- rear lamp harness, on hydraulic reservoir, uses valve linkage mounting bracket hardware

1шт.

4

D37936

GROMMET

- rear lamp harness through hydraulic reservoir frame

1шт.

5

R53887

SUPPORT

BRACKET - rear lamp mounting, use rear screen mounting hardware, on models without rear screen use (2) Ref. 10, 121-428 bolts

2шт.

6

F96838

LAMP

ASSEMBLY - front and rear flood, parts list Figure 4-26

4шт.

7

131-930

FLANGE NUT,Hex Serr, 1/2" - 13, Gr 5

- hex, flange type, special locking, 1/2 inch NC

4шт.

8

R54482

HARNESS

- front lamps

1шт.

9

R27714

BRACKET

- front lamp mounting

2шт.

10

121-428

FLANGE BOLT,Hex, 1/2" - 13 x 1", Gr 8, Full Thd

BOLT, Hex Flg, 1/2"-13 x 1", G8, Full Thd

2-4шт.

Выбрано товаров: 10