Запчасти Case 650G (8-02) - HYDRAULIC RESERVOIR (08) - HYDRAULICS

Схема запчастей Case 650G - (8-02) - HYDRAULIC RESERVOIR (08) - HYDRAULICS
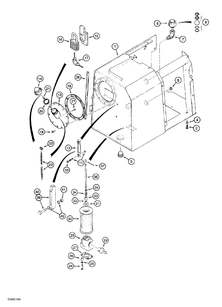
1
36
31
39
16
2
21
27
12
14
11
9
7
22
34
17
19
32
25
37
40
5
21
29
33
38
30
35
18
40
41
28
23
4
20
26
24
10
6
13
8
15
FIT
1:1
100%

Артикул

Название

Примечание

Количество

1

124177A1

TANK

RESERVOIR hydraulic

1шт.

2

413-1016

BOLT,Hex, 5/8" - 11 x 1", Gr 5

hex, 5/8 NC x 1 inch

4шт.

4

96-21066

WASHER,21/32" x 1 5/16" x .150", HDN

flat, 21/32 x 1-5/16 x 5/32 inch, hardened

4шт.

5

221-847

PLUG,Hex Soc, 1 1/4"-11 1/2

square socket headless, 1-1/4 inch PT

1шт.

6

217-439

PLUG,Hex Soc, 1/2" - 14 NPTF

Headless

1шт.

7

221-1415

ELBOW,90 Degree, 3/4"-14, NPT

ELBOW street, 90 degree, 3/4 inch PT

1шт.

8

R42714

BREATHER

hydraulic reservoir, Includes: Ref. 9

1шт.

9

N6475

SET

KIT breather, includes element, two O-rings and two snap rings

1шт.

L116247

GAUGE

ASSEMBLY sight, black full line, red empty line, plastic, if used, Includes: Ref. 10 - 12

1шт.

10

N13213

BOLT

BOLT special, not serviced separately, order L116247 sight gauge

2шт.

11

238-7112

O-RING,0.103" Thk x 0.487" ID, -112, Cl 7, 75 Duro

4шт.

12

NSS

NOT SOLD SEPARAT

GAUGE sight, used with Ref. 39 sealant, order L116247 sight gauge assembly

1шт.

R51335

LARGE PLATE

PLATE, LARGE COVER hydraulic reservoir, with filler tube, 136 mm (5-23/64 inch) long filler tube, if used, Includes: Ref. 13 - 15

1шт.

178980A1

COVER

hydraulic reservoir, with filler tube, 126mm (4-31/32 inch) long filler tube, if used, Includes: Ref. 13 - 15

1шт.

13

NSS

NOT SOLD SEPARAT

COVER hydraulic reservoir

1шт.

14

L128669

CAP

filler, replaces R46929

1шт.

15

R46704

BRACKET

TAB locking, welded-on

1шт.

16

D93753

PADLOCK

includes keys, if used, Includes: Ref. 17

1шт.

17

R29555

KEY

for Master padlock only

2шт.

17

D93751

SET OF 2 KEYS

for Yale padlock only

2шт.

18

R46621

GASKET

rear cover, used with Ref. 39 sealant

1шт.

19

160-101

BOLT,Hex, 3/8" - 16 x 3/4", Gr 8, Full Thd

hex flange, 3/8 NC x 3/4 inch, grade 8

10шт.

20

R46984

GASKET

filler cap

1шт.

21

301-14712

SCREW,Drive, #12 x 3/4"

Round head

2шт.

22

R48634

FASTENER

HOOK chain

1шт.

23

R47786

CHAIN (CE)

filler cap

1шт.

24

413-828

BOLT,Hex, 1/2" - 13 x 1-3/4", Gr 5

2шт.

25

80679

LOCK WASHER,1/20.507 CST ZND

2шт.

26

T53868

BUSHING

SPACER filter mounting

2шт.

27

R27324

GASKET

filter

1шт.

28

R36277

BLOCK ASSY.

filter

1шт.

29

R27525

VALVE

bypass

1шт.

R51643

HYDRAULIC OIL FILTER

ELEMENT, Includes: Ref. 30 and 31

1шт.

30

NSS

NOT SOLD SEPARAT

ELEMENT filter

1шт.

31

NSS

NOT SOLD SEPARAT

WASHER flat, element

1шт.

32

100-1650

SNAP RING,#50, Ext

Replaces 22824R1

1шт.

33

R56556

HOLDER

RETAINER spring

1шт.

34

F61200

SPRING

filter

1шт.

35

195-2052

WASHER,17/32" x 1 1/8" x .180"

1шт.

36

R56557

STEM

ROD filter

1шт.

37

135-815

GROOVED PIN,5/16" x 3", Type E, Hardened

1шт.

38

R56995

PROTECTION STRIP

PAD bumper, door, 3 x 16 x 515 mm

1шт.

39

B17576

GASKET MAKER FLUID

SEALANT, RTV No. 595, clear, 300 ml tube

1шт.

40

226456A1

LEVEL GAUGE

Assy, Sight, Hydraulic oil, Full/cold lettering, Aluminum, Incl two hollow head bolts and four O-rings which are not serviced separately, used with Ref. 39 sealant, if used

1шт.

41

829-1412

NUT,M12, Cl 10.9

Used with Ref. 40 gauge, if used

2шт.

Выбрано товаров: 45