Запчасти Case 650G (8-12) - LIFT HYDRAULIC CIRCUIT (08) - HYDRAULICS

Схема запчастей Case 650G - (8-12) - LIFT HYDRAULIC CIRCUIT (08) - HYDRAULICS
23
23
20
13
3
5
4
18
27
2
10
14
12
14
19
16
8
15
18
17
25
19
1
25
21
13
22
26
6
18
16
6
15
24
14
14
11
7
13
7
21
24
22
17
20
13
9
FIT
1:1
100%

Артикул

Название

Примечание

Количество

1

REF

INSTRUCTION

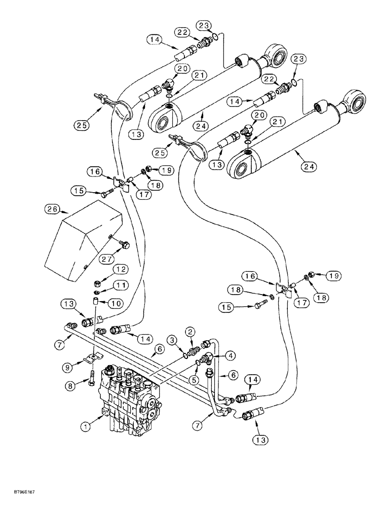
VALVE ASSEMBLY equipment control, for correct assembly and components, see Fig. 8-38, 39A, 8-40, or 41A

1шт.

2

218-5062

HYD CONNECTOR,7/8"-14, 37 Degree x 7/8"-14, O-Ring

ADAPTER straight, 7/8-14 inch flare x O-ring boss, Includes: Ref. 3

1шт.

3

237-6010

O-RING,0.097" Thk x 0.755" ID, -910, Cl 6, 90 Duro

1шт.

4

218-5107

90 ELBOW,90 Degree Elbow, 7/8" - 14 Male JIC x 7/8" - 14 Male ORB

Adj. O-ring boss, Incl. Ref. 5

1шт.

5

237-6010

O-RING,0.097" Thk x 0.755" ID, -910, Cl 6, 90 Duro

1шт.

6

120135A1

TUBE,15.875 mm OD, 336, 135 mm Length

at control valve upper lift port and crossover

1шт.

7

120137A1

TUBE

at control valve lower lift port and crossover

1шт.

8

413-628

BOLT,Hex, 3/8" - 16 x 1-3/4", Gr 5

2шт.

9

D138055

CLAMP

tube

2шт.

10

D146035

SPACER,10.31mm ID x 16mm OD x 15.5mm L

SPACER tube clamp, replaces D76209

2шт.

11

492-11038

LOCK WASHER,3/8"

2шт.

12

425-106

NUT,3/8"-16, Cl 5

2шт.

13

123062A1

HYDRAULIC HOSE

725 mm (28-1/2 inch) long, at lift cylinder closed end

2шт.

14

123061A1

HYDRAULIC HOSE

1250 mm (49-1/4 inch) long, at lift cylinder rod end

2шт.

15

413-628

BOLT,Hex, 3/8" - 16 x 1-3/4", Gr 5

2шт.

16

R15257

CLAMP

hose

2шт.

17

D76208

SPACER

480 inch thick

2шт.

18

495-11041

WASHER,0.406" ID x 0.812" OD x 0.065" W

Flat, (13/32 x 13/16 x 1/16")

4шт.

19

231-1446

NUT,3/8" - 16, Gr 5

2шт.

20

218-5107

90 ELBOW,90 Degree Elbow, 7/8" - 14 Male JIC x 7/8" - 14 Male ORB

Adj. O-ring boss, Incl. Ref. 21

2шт.

21

237-6010

O-RING,0.097" Thk x 0.755" ID, -910, Cl 6, 90 Duro

1шт.

22

218-5062

HYD CONNECTOR,7/8"-14, 37 Degree x 7/8"-14, O-Ring

ADAPTER straight, 7/8-14 inch flare x O-ring boss, Includes: Ref. 23

2шт.

23

237-6012

O-RING,0.116" Thk x 0.924" ID, -912, Cl 6, 90 Duro

1шт.

24

116211A1

CYLINDER ASSY.

89 (3-1/2) ID x 442 mm (17-7/16 inch) stroke, doser lift, parts list Fig. 8-24

2шт.

25

L18337

CABLE TIE,9.95"-12.1" lg

CABLE STRAP tie, 15 inch

2шт.

26

124642A1

COVER

GUARD hose

2шт.

27

160-101

BOLT,Hex, 3/8" - 16 x 3/4", Gr 8, Full Thd

hex flange, 3/8 NC x 3/4 inch, grade 8

4шт.

Выбрано товаров: 27