Запчасти Case 650G (8-44) - LIFT SECTION (08) - HYDRAULICS

Схема запчастей Case 650G - (8-44) - LIFT SECTION (08) - HYDRAULICS
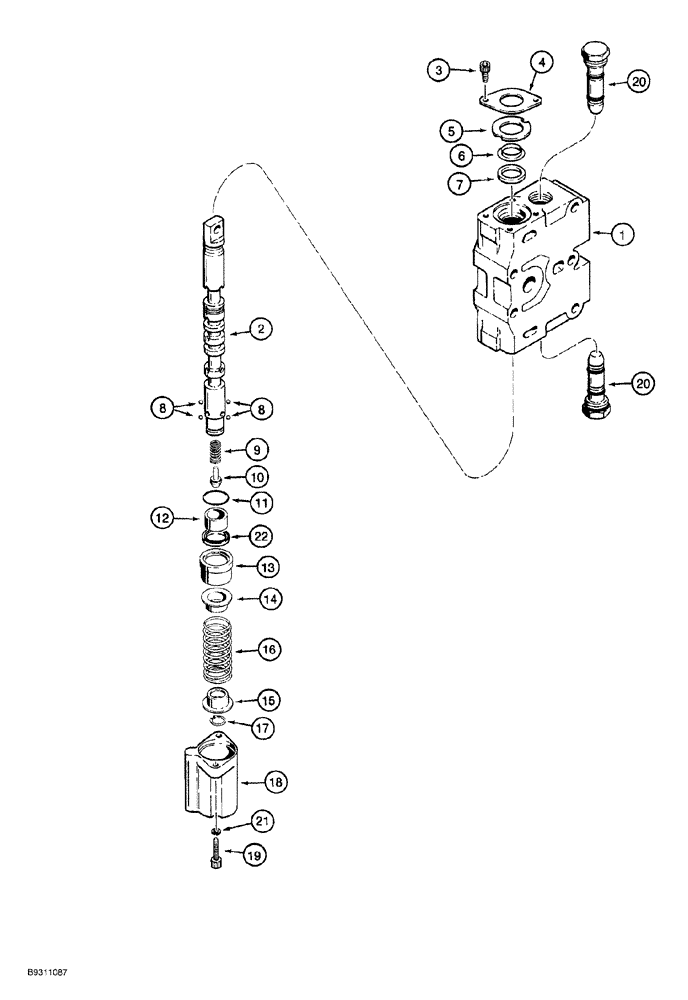
1
3
12
8
10
17
21
5
11
20
8
9
4
18
16
7
22
14
6
19
20
15
13
2
FIT
1:1
100%

Артикул

Название

Примечание

Количество

136641A1

HYD VALVE SECTION

ASSEMBLY, lift, if used, Includes: Ref. 1 - 22

1шт.

1

NSS

NOT SOLD SEPARAT

HOUSING section

1шт.

2

NSS

NOT SOLD SEPARAT

SPOOL section

1шт.

3

61-3258

HEX SOC SCREW,1/4"-20 x 1/2"

hex socket, 1/4 NC x 1/2 inch

2шт.

4

N8194

LARGE PLATE

PLATE, LARGE retainer, outer

1шт.

5

136898A1

RETAINER

spool seal

1шт.

6

136900A1

WIPER SEAL

WIPER spool

1шт.

7

136902A1

SEAL

lip, spool and detent sleeve

1шт.

8

S301095

BALL

steel, 7/32 inch diameter

4шт.

9

100848A1

SPRING

detent, 7/16 O.D. x 5/64 inch long

1шт.

10

N7035

VALVE POPPET

detent

1шт.

11

238-5121

O-RING,0.103" Thk x 1.049" ID, -121, Cl 5, 75 Duro

1шт.

12

S301097

SLEEVE VALVE

spool

1шт.

13

100847A1

SLEEVE

detent

1шт.

14

100845A1

COLLAR

SEAT spring, upper

1шт.

15

N7033

SEAT

SEAT spring, lower

1шт.

16

100846A1

SPRING

centering, spool

1шт.

17

100-1162

SNAP RING,#62, Ext

1шт.

18

S301093

CAP

spool detent, replaces 136896A1

1шт.

19

61-32514

HEX SOC SCREW,1/4"-20 x 7/8"

hex socket, 1/4 NC x 7/8 inch

2шт.

20

D87307

VALVE

ASSEMBLY load check, parts list Fig. 8-48

2шт.

The lower load check valve may have been replaced w/122119A1 anti cavitation check valve, if your machine is equipped w/ optional field installed 235418A1 low pressure regeneration kit. See Fig. 8-8 & 8-9A for hydraulic line routing to determine if you machine is equipped w/this kit. See parts list Fig. 8-48 for service parts of 122119A1 anti cavitation check valve

1шт.

21

492-11025

LOCK WASHER,1/4"

2шт.

22

100850A1

SEAL

lip, detent sleeve

1шт.

Выбрано товаров: 24