Запчасти Case 650G (8-45A) - LIFT SECTION (08) - HYDRAULICS

Схема запчастей Case 650G - (8-45A) - LIFT SECTION (08) - HYDRAULICS
19
23
3
13
20
4
18
2
22
11
3
10
21
15
9
17
6
20
13
8
14
7
5
16
1
12
FIT
1:1
100%

Артикул

Название

Примечание

Количество

357161A1

HYD VALVE SECTION

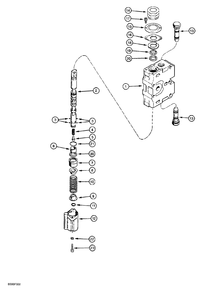
ASSEMBLY, lift, if used, Includes: Ref. 1 - 23

1шт.

1

NSS

NOT SOLD SEPARAT

HOUSING section

1шт.

2

NSS

NOT SOLD SEPARAT

SPOOL section

1шт.

3

211-1007

BALL,7/32" Dia

Gr 24, Chrome alloy steel

4шт.

4

100848A1

SPRING

detent, 7/16 O.D. x 5/64 inch long

1шт.

5

N7035

VALVE POPPET

detent

1шт.

6

S301097

SLEEVE VALVE

spool

1шт.

7

100847A1

SLEEVE

detent

1шт.

8

100845A1

COLLAR

SEAT spring, upper

1шт.

9

N7033

SEAT

spring, lower

1шт.

10

100846A1

SPRING

centering, spool

1шт.

11

100-1162

SNAP RING,#62, Ext

Spool

1шт.

12

S301093

CAP

spool detent

1шт.

13

D87307

VALVE

ASSEMBLY load check, parts list Fig. 8-44, see note

2шт.

The lower load check valve may have been replaced w/122119A1 anti cavitation check valve, if your machine is equipped w/ optional field installed 235418A1 low pressure regeneration kit. See Fig. 8-8 & 8-9A for hydraulic line routing to determine if you machine is equipped w/this kit. See parts list Fig. 8-48 for service parts of 122119A1 anti cavitation check valve

1шт.

14

357164A1

BOOT

spool

1шт.

Part of Seal Kit, P/N 352798A1

1шт.

15

357163A1

RETAINER

boot

1шт.

Part of Seal Kit, P/N 352798A1

1шт.

16

N8194

LARGE PLATE

PLATE, LARGE retainer

1шт.

Part of Seal Kit, P/N 352798A1

1шт.

17

61-3258

HEX SOC SCREW,1/4"-20 x 1/2"

hex socket, 1/4 NC x 1/2 inch

2шт.

Part of Seal Kit, P/N 352798A1

1шт.

18

D88730

WASHER,0.77" ID x 1.43" OD

RETAINER spool seal

1шт.

Part of Seal Kit, P/N 352798A1

1шт.

19

D88729

WASHER,0.76" ID x 1" OD x 0.05" Thk

RING backup

1шт.

Part of Seal Kit, P/N 352798A1

1шт.

20

D88728

O-RING,19.05mm ID x 25.4mm OD x 3.18mm Thk

spool seal, spool eye and detent end, replaces N13962

2шт.

Part of Seal Kit, P/N 352798A1

1шт.

21

238-5121

O-RING,0.103" Thk x 1.049" ID, -121, Cl 5, 75 Duro

1шт.

Part of Seal Kit, P/N 352798A1

1шт.

22

357162A1

PLATE

spool

2шт.

Part of Seal Kit, P/N 352798A1

1шт.

23

193-558

SCREW,SEMS, Slot Fil Hd, 1/4"-20 x 7/8"

slotted, with split lockwasher, 1/4 NC x 7/8 inch

2шт.

Part of Seal Kit, P/N 352798A1

1шт.

352798A1

PACKAGE, REPAIR

KIT seal, includes Refs. 14, 15, 16, 17, 18, 19, 20, 21, 22, and 23

1шт.

Выбрано товаров: 36