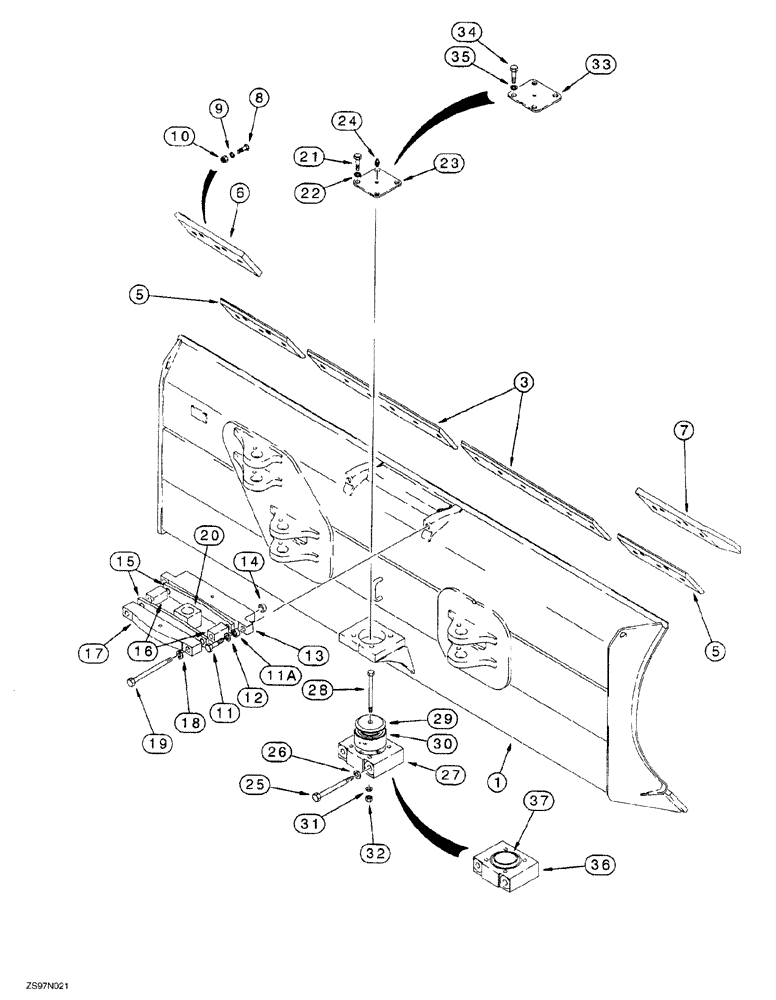
Запчасти Case 650G (9-04) - DOZER BLADE AND MOUNTING (09) - CHASSIS/ATTACHMENTS

Схема запчастей Case 650G - (9-04) - DOZER BLADE AND MOUNTING (09) - CHASSIS/ATTACHMENTS
32
20
16
22
17
12
10
18
21
11
37
5
14
35
34
15
23
9
3
36
30
31
24
13
19
28
26
5
7
11a
8
6
27
25
1
29
33
FIT
1:1
100%

Артикул

Название

Примечание

Количество

1

190579A1

BLADE

2620 mm (103 inch) wide, replaces 1 15692A1

1шт.

3

115631A1

EDGE

cutting, center, 867 mm (35 inch) long

2шт.

5

R42490

END

EDGE cutting, standard, end, flat type, if used

2шт.

6

R41910

EDGE, CUTTING

heavy duty, left-hand, end, curved type, if used

1шт.

7

R41911

EDGE, CUTTING

heavy duty, right-hand, end, curved type, if used

1шт.

8

R56474

PLOW BOLT

plow, 3/4 NC x 2-1/2 inch, grade 8

22шт.

9

92-11075

LOCK WASHER,3/4"

22шт.

10

29-1012

NUT,3/4"-10, G8

22шт.

11

326-1260

BOLT,Hex, 3/4" - 10 x 3-3/4", Gr 8

Use with blue Loctite No. 242, see below

2шт.

11a

R30398

SPACER

SPACER mounting bolt

2шт.

12

D34666

WASHER,33.34mm ID x 63.5mm OD x 2.38mm Thk

flat, special, 3/4 inch

2шт.

13

116247A1

BLOCK ASSY.

pitch

1шт.

14

316455A1

PLUG

plastic, replaces 353-553

2шт.

15

117836A1

BLOCK

PLATE wear

2шт.

16

117837A1

BLOCK

spacer

2шт.

17

120821A1

PLATE

retainer, slider block, rear

1шт.

18

D34666

WASHER,33.34mm ID x 63.5mm OD x 2.38mm Thk

flat, special, 3/4 inch

2шт.

19

326-12112

BOLT,Hex, 3/4" - 10 x 7", Gr 8

Use with blue Loctite No. 242, see below

2шт.

20

117835A1

SPACER

BLOCK slider

1шт.

21

326-844

BOLT,Hex, 1/2" - 13 x 2-3/4", Gr 8

Use with blue Loctite No. 242, see below, used with Ref. 23, 126150A1 plate

4шт.

22

80679

LOCK WASHER,1/20.507 CST ZND

Used with Ref. 23, 126150A1 plate

4шт.

23

126150A1

LARGE PLATE

PLATE, LARGE cover, no longer used, order item 33, 188412A1 plate and hardware Refs. 34 and 35

1шт.

24

219-1

LUBE NIPPLE,1/8" - 27 NPTF

Used with both 126150A1 plate, Ref. 23, and 188412

1шт.

25

326-12120

BOLT,Hex, 3/4" - 10 x 7-1/2", Gr 8

Use with blue Loctite No. 242, see below

2шт.

26

D34666

WASHER,33.34mm ID x 63.5mm OD x 2.38mm Thk

flat, special, 3/4 inch

2шт.

27

117834A1

BLOCK

trunnion, no longer available, for service order Ref. 36, 188904A1, trunnion block and it

1шт.

28

326-12112

BOLT,Hex, 3/4" - 10 x 7", Gr 8

1шт.

29

119105A1

WASHER

flat, special

1шт.

30

118487A1

BALL JOINT

self aligning, if used

1шт.

31

D34666

WASHER,33.34mm ID x 63.5mm OD x 2.38mm Thk

flat, special, 3/4 inch

1шт.

32

329-1012

NUT,3/4"-10, G8

1шт.

33

188412A1

LARGE PLATE

PLATE, LARGE cover

1шт.

34

326-1248

BOLT,Hex, 3/4" - 10 x 3", Gr 8

Use with blue Loctite No 242, see below

4шт.

35

D34666

WASHER,33.34mm ID x 63.5mm OD x 2.38mm Thk

flat, special, 3/4 inch

4шт.

188903A1

SUPPORT

TRUNNION ASSEMBLY pivot, no longer available, order Refs. 36 and 37 below

1шт.

36

188904A1

BLOCK

trunnion

1шт.

37

118487A1

BALL JOINT

self aligning

1шт.

B17577

LOCTITE

No. 242, blue, 6 ml tube

1шт.

Выбрано товаров: 38