Запчасти Case 650G (9-32) - ENGINE SIDE SHIELDS (09) - CHASSIS/ATTACHMENTS

Схема запчастей Case 650G - (9-32) - ENGINE SIDE SHIELDS (09) - CHASSIS/ATTACHMENTS
6
12
9
11
10
10
1
2
11
5
8
4
3
7
FIT
1:1
100%

Артикул

Название

Примечание

Количество

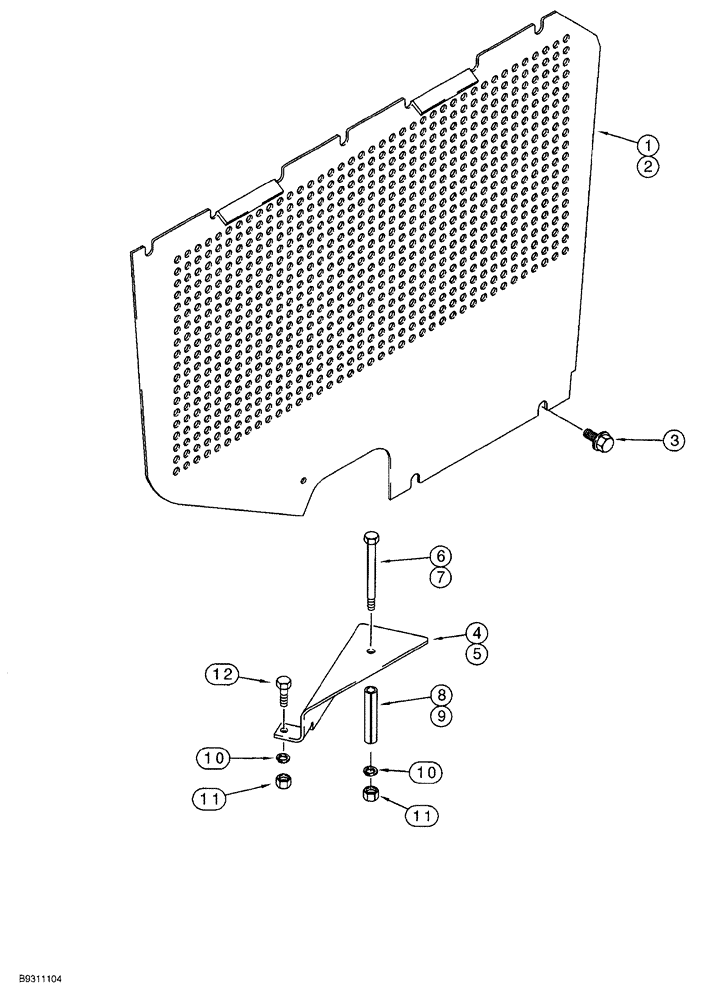
1

115667A1

SHIELD

engine side, left hand, not shown

1шт.

2

115665A1

SHIELD

engine side, right hand

1шт.

3

160-106

BOLT,Hex, 1/2" - 13 x 1", Gr 8, Full Thd

10шт.

4

116955A1

COVER

side shield, left hand, not shown

1шт.

5

116956A1

COVER

side shield, right hand

1шт.

6

413-648

BOLT,Hex, 3/8" - 16 x 3", Gr 5

Left hand side, not shown

1шт.

7

413-672

BOLT,Hex, 3/8" - 16 x 4-1/2", Gr 5

hex, 3/8 NC x 4-1/2 inch, right hand side

1шт.

8

D82547

SPACER

left hand side, not shown

1шт.

9

116423A1

SPACER

right hand side

1шт.

10

492-11038

LOCK WASHER,3/8"

4шт.

11

425-106

NUT,3/8"-16, Cl 5

4шт.

12

413-620

BOLT,Hex, 3/8" - 16 x 1-1/4", Gr 5

2шт.

Выбрано товаров: 12