Запчасти Case 650G (4-26) - FRONT WIPER AND WINDSHIELD WASHER (04) - ELECTRICAL SYSTEMS

Схема запчастей Case 650G - (4-26) - FRONT WIPER AND WINDSHIELD WASHER (04) - ELECTRICAL SYSTEMS
32
9
12
24a
10
31
31
28
24
31
25
20
14
13
22
7
34
29
6
27
33
15
32
26
16
2
8
6
23
5
18
21
30
1
17
36
4
33
11
5
19
3
FIT
1:1
100%

Артикул

Название

Примечание

Количество

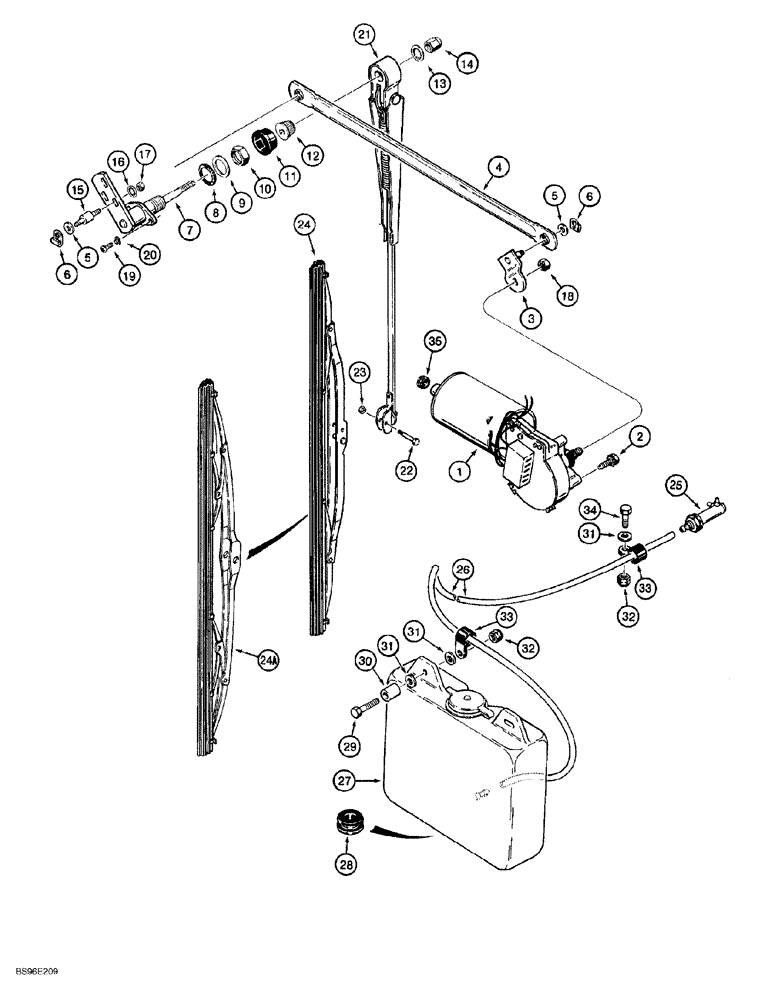
1

1546453C1

MOTOR, ELECTRIC

ASSEMBLY front windshield wiper, component parts not serviced separately

1шт.

2

D72849

SCREW

machine, special, with lock washer, motor mounting

3шт.

3

60-6626T1

LEVER

drive, wiper motor, replaces 1546454C1

1шт.

4

D71412

LINK

drive lever to pivot shaft assembly

1шт.

5

A22431

WASHER

special, retaining

2шт.

6

D71414

CLIP

RETAINER spring clip, drive lever attaching parts

2шт.

1546455C1

PIVOT ASSY.

SHAFT pivot, windshield wiper, Includes: Ref. 7 - 17

1шт.

7

NSS

NOT SOLD SEPARAT

SHAFT windshield wiper pivot

1шт.

8

D71417

SPECIAL WASHER

flat, replaces N6749

1шт.

9

495-81032

WASHER,18.26mm ID x 31.75mm OD x 1.7mm Thk

flat, 23/32 x 1-1/4 x 3/64 inch, replaces N6750

1шт.

10

D71419

NUT

special, hex jam, replaces N6751

1шт.

11

D71420

CAP

shaft, rubber, replaces N6752

1шт.

12

N6753

BLOCK DRIVER

knurled

1шт.

13

493-21039

LOCK WASHER,Int Tooth, 3/8"

internal tooth lock, 3/8 inch, replaces 193-68

1шт.

14

60-6635T1

NUT

special, pivot shaft, replaces N6754

1шт.

15

D73642

PIN

special

1шт.

16

493-21026

LOCK WASHER,Int Tooth, 1/4"

internal tooth, 1/4 inch

1шт.

17

425-154

JAM NUT,Jam, 1/4"-28, G5

1шт.

18

231-5145

SERRATED NUT,Flg, USR, 5/16"-18

1шт.

19

459-1108

SCREW,Slotted Pan Hd, #10-32 x 1/2"

2шт.

20

492-11010

LOCK WASHER,#10

2шт.

21

1546456C1

WIPER ARM

ARM, WIPER ASSEMBLY windshield wiper, 406 mm (16 inch) long, Includes: Ref. 22 - 24

1шт.

22

103658A1

BOLT

hex shoulder, special

1шт.

23

832-46504

LOCK NUT,M4 x .7, Cl 8

hex, self locking, 4 mm - 0.7

1шт.

24

132024A1

WIPER BLADE

arm, complete, front, clip on blade, not used in this application, order Ref. 24A, 243953A1

1шт.

24a

243953A1

WINDSHIELD WIPER

BLADE arm, complete, front, pin on blade

1шт.

25

S117715

NOZZLE INJECTION

windshield washer

1шт.

26

1999486C1

HOSE

5790 mm (228 inch) long, windshield washer

1шт.

27

L303176

RESERVOIR

ASSEMBLY, with pump, windshield wiper fluid, component parts not serviced separately

1шт.

28

A23870

GROMMET

retainer

1шт.

29

413-636

BOLT,Hex, 3/8" - 16 x 2-1/4", Gr 5

2шт.

30

R58606

SPACER

reservoir

2шт.

31

495-21044

WASHER,3/8"

(flat, 7/16 x 1 x 5/64 inch)

5шт.

32

131-203

LOCK NUT,3/8"-16, GB, LH

light hex, self locking, 3/8 inch NC

3шт.

33

515-23127

CLAMP,1/2", Insul, 3/8" Bolt

P-type

2шт.

34

413-612

BOLT,Hex, 3/8" - 16 x 3/4", Gr 5

1шт.

35

F64486

GROMMET

BUSHING snap, 3/4 inch ID

1шт.

Выбрано товаров: 37