Качественные детали и логистика
Оригинальные и аналоговые запчасти с доставкой по России, Казахстану и Беларуси
©2022 PartSell ООО "Система" ИНН 2463123282 ОГРН 1212400004838
Центральный офис: г. Красноярск, Академика Киренского, д.87, пом.4
Телефон: 8 (800) 777-65-74 Email: zakaz@partsell.ru
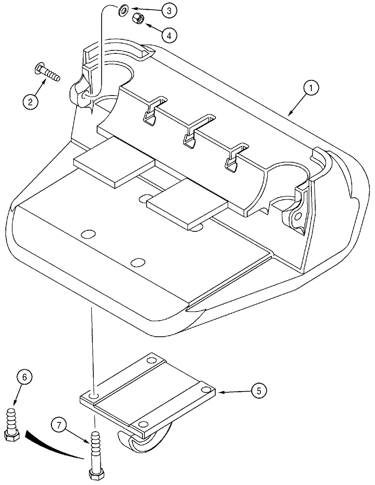
(09-06) - COUNTERWEIGHT, FRONT HOOK, TOWING
№
Артикул
Название
Примечание
Количество
1
369473A1
WEIGHT
Front
1шт.
2
433-836
CARRIAGE BOLT,Sq Nk, 1/2" - 13 x 2 1/4", Gr 5
2шт.
3
495-11053
WASHER,1/2", SAE
(17/32" x 1-1/16" x 3/32")
4
231-1448
NUT,1/2"-13, GB
5
71671
PLATE ASSY.
If Equipped
6
413-1236
BOLT,Hex, 3/4" - 10 x 2-1/4", Gr 5
Used without 369473A1
4шт.
7
413-1264
BOLT,Hex, 3/4" - 10 x 4", Gr 5
3/4 x 4, Used With 369473A1
Выбрано товаров: 0