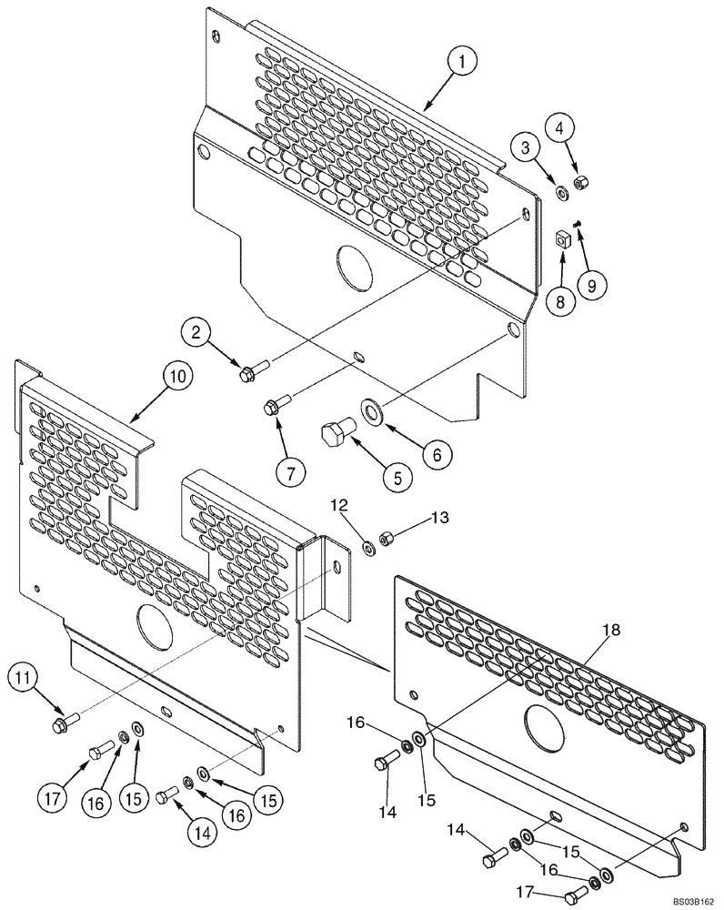
Запчасти Case 650H (09-11) - GUARD, TRANSMISSION REAR (09) - CHASSIS

Схема запчастей Case 650H - (09-11) - GUARD, TRANSMISSION REAR (09) - CHASSIS
10
18
14
13
12
17
15
9
17
11
14
16
16
16
5
1
15
15
4
2
16
7
15
8
3
14
FIT
1:1
100%

Артикул

Название

Примечание

Количество

Drawbar Models with No Rear Equipment

1шт.

1

382662A1

GUARD

Transmission, Rear

1шт.

2

160-109

BOLT,Hex, 1/2" - 13 x 1 3/4", Gr 8

1/2 x 1-3/4; 8

2шт.

3

496-21053

WASHER,17/32" x 1 1/16" x .134"

2шт.

4

231-1448

NUT,1/2"-13, GB

2шт.

5

413-1624

BOLT,Hex, 1" - 8 x 1-1/2", Gr 5

1 x 1-1/2

2шт.

6

496-21053

WASHER,17/32" x 1 1/16" x .134"

2шт.

7

160-108

BOLT,Hex, 1/2" - 13 x 1 1/2", Gr 8, Full Thd

1/2 x 1-1/2; 8

1шт.

8

224-2808

SQUARE NUT,Sq, 1/2"-13, G2, Hvy

1шт.

9

336371A1

PIN,4.88mm OD x 14.23mm L

Used on Models with a Ripper

1шт.

10

369823A1

GUARD

Transmission, Rear

1шт.

No Longer Available

1шт.

Order 345388A1 Lower Ripper Guard, Ref 18 and 369823A2 Rear Transmission Guard

1шт.

See Figure 08-11 For 369823A2 Guard

1шт.

11

160-108

BOLT,Hex, 1/2" - 13 x 1 1/2", Gr 8, Full Thd

1/2 x 1-1/2; 8

2шт.

12

496-21053

WASHER,17/32" x 1 1/16" x .134"

2шт.

13

231-1448

NUT,1/2"-13, GB

2шт.

14

413-820

BOLT,Hex, 1/2" - 13 x 1-1/4", Gr 5

2-3шт.

15

495-11053

WASHER,1/2", SAE

(17/32" x 1-1/16" x 3/32")

3-4шт.

16

80679

LOCK WASHER,1/20.507 CST ZND

3-4шт.

17

413-824

BOLT,Hex, 1/2" - 13 x 1-1/2", Gr 5

1шт.

18

345388A1

GUARD

Ripper, Lower

1шт.

Выбрано товаров: 22