Запчасти Case 650H (05-03) - TRACK ADJUSTER AND IDLER MOUNTING (11) - TRACKS/STEERING

Схема запчастей Case 650H - (05-03) - TRACK ADJUSTER AND IDLER MOUNTING (11) - TRACKS/STEERING
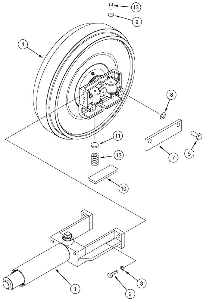
5
1
9
2
10
12
13
11
7
3
8
4
FIT
1:1
100%

Артикул

Название

Примечание

Количество

1

345092A1

ADJUSTER

HEIGHT , See Page(s) 5-11

2шт.

2

107-9824

LOCK BOLT,Locking, 1/2"-13 x 1 1/2", G8

4шт.

3

496-21053

WASHER,17/32" x 1 1/16" x .134"

4шт.

4

329712A1

FRONT IDLER

See Page(s) 5-13

2шт.

5

413-1024

BOLT,Hex, 5/8" - 11 x 1-1/2", Gr 5

8шт.

7

R49772

LARGE PLATE

PLATE, LARGE

4шт.

8

D44330

SHIM,.031" Thk

1шт.

9

495-21044

WASHER,3/8"

(7/16 x 1 x 5/64)

8шт.

10

R58720

LARGE PLATE

PLATE, LARGE

8шт.

11

R33245

SPRING SEAT

8шт.

12

188866A1

SHOCK ABSORBER

8шт.

13

413-612

BOLT,Hex, 3/8" - 16 x 3/4", Gr 5

8шт.

Выбрано товаров: 12