Запчасти Case 650K (09-11) - DOORS, REAR (09) - CHASSIS/ATTACHMENTS

Схема запчастей Case 650K - (09-11) - DOORS, REAR (09) - CHASSIS/ATTACHMENTS
11
8
4
13
1
6
16
12
2
20
5
24
18
3
14
14
4
17
2a
8
23
21
22
10
13
15
7
7
15
3
4
9
6
4
5
6a
19
3
1a
FIT
1:1
100%

Артикул

Название

Примечание

Количество

REF

INSTRUCTION

LEFT-HAND AND RIGHT-HAND

1шт.

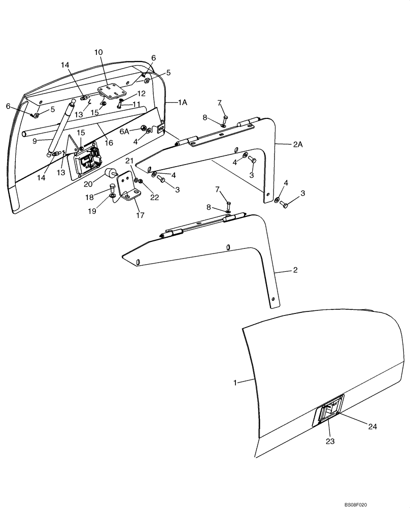
414381A3

DOOR ASSY.

Right-Hand; Incl. Ref 1, 2, 3 - 6A, 23, 24

1шт.

414383A3

DOOR ASSY.

Left-Hand; Incl. Ref 1A, 2A - 6A, 23, 24

1шт.

1

NSS

NOT SOLD SEPARAT

Door, Right-Hand

1шт.

1a

NSS

NOT SOLD SEPARAT

Door, Left-Hand

1шт.

2

414382A3

HINGE

Door, Right-Hand

1шт.

2a

414384A3

HINGE

Door, Left-Hand

1шт.

3

627-10025

BOLT,Hex, M10 x 1.5 x 25mm, Cl 10.9, Full Thd

3шт.

4

895-15010

WASHER,11mm ID x 24mm OD x 2mm Thk

4шт.

5

122958A1

SQUARE NUT

M10

2шт.

6

336371A1

PIN,4.88mm OD x 14.23mm L

Nut Retainer

2шт.

6a

832-10410

NUT,M10 x 1.5, Cl 8

1шт.

7

627-8025

BOLT,Hex, M8 x 1.25 x 25mm, Cl 10.9, Full Thd

6шт.

8

895-15008

WASHER,9mm ID x 20mm OD x 1.6mm Thk

6шт.

9

437171A1

GAS STRUT

Gas Spring

2шт.

10

411339A1

MOUNTING PARTS

2шт.

11

627-8020

BOLT,Hex, M8 x 1.25 x 20mm, Cl 10.9, Full Thd

8шт.

12

895-11008

WASHER,9mm ID x 16mm OD x 1.6mm Thk

8шт.

13

F44883

CLIP,DIN 71805 - S10

4шт.

14

109498A1

STUD

4шт.

15

231-1445

NUT,5/16"-18, GB

4шт.

16

86990971

HANDLE

Hydraulic Pump, Cab/Canopy Tilt; Door, Left-Hand

1шт.

17

413925A2

PLATE

Door Latch

2шт.

18

614-12025

BOLT,Hex, M12 x 1.75 x 25mm, Cl 8.8, Full Thd

4шт.

19

896-11012

WASHER,13.5mm ID x 24mm OD x 3mm Thk

4шт.

20

N7673

BUMPER

Bumper

2шт.

21

495-11034

WASHER,5/16", SAE

(11/32 x 11/16 x 1/16")

2шт.

22

231-1445

NUT,5/16"-18, GB

2шт.

23

R56221

LATCH

2шт.

24

151-567

RIVET,Pop, 1/4" x .625"

4шт.

Выбрано товаров: 30