Запчасти Case 650K (09-35) - CAB - HEATING SYSTEM (AT ENGINE) (09) - CHASSIS/ATTACHMENTS

Схема запчастей Case 650K - (09-35) - CAB - HEATING SYSTEM (AT ENGINE) (09) - CHASSIS/ATTACHMENTS
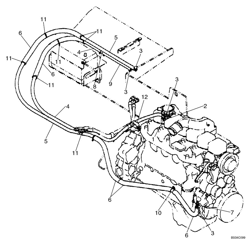
6
10
11
11
2
5
3
6
6
6
7
5
3
9
3
4
11
11
12
3
8
11
4
11
FIT
1:1
100%

Артикул

Название

Примечание

Количество

1

221-1089

REDUCER,Hex, 1/2" x 3/8" NPT

1шт.

2

301803R1

SHUT-OFF VALVE

1шт.

3

214-1410

HOSE CLAMP,#10, 0.56" - 1.06", Type F Worm

6шт.

4

1974655C1

HEATER HOSE,15.5mm ID x 2642mm L

Cut From 86997299 Bulk Hose; Inlet, Heater Supply From Engine

1шт.

5

1974653C1

HEATER HOSE,15.50 mm ID x 3404.00 mm

Outlet, Heater Return To Engine

1шт.

6

87401054

CONDUIT

7-5шт.

7

642560

FITTING,5/8" Hose x 3/8" NPTF Beaded

Use Loctite 71

1шт.

8

87409594

REDUCER FITTING

3/4 x 5/8

1шт.

9

87429721

HEATER HOSE,19.00 mm ID x 305.00 mm

1шт.

10

515-25254

CLAMP,1", Insul, 1/2" Bolt

Uses (1) 614-12025 Bolt, (1) 892-11012 Washer

1шт.

614-12025

BOLT,Hex, M12 x 1.75 x 25mm, Cl 8.8, Full Thd

1шт.

892-11012

LOCK WASHER,M12

1шт.

11

L18331

CABLE TIE,375.9mm L, Nylon, Black

CABLE STRAP

11-8шт.

12

242999A1

CLAMP

Double, Use Existing Hardware; If Used

1шт.

Выбрано товаров: 0