Запчасти Case 650K (09-09A) - MOUNTING - FUEL TANK/HYDRAULIC RESERVOIR (IF USED) (09) - CHASSIS/ATTACHMENTS

Схема запчастей Case 650K - (09-09A) - MOUNTING - FUEL TANK/HYDRAULIC RESERVOIR (IF USED) (09) - CHASSIS/ATTACHMENTS
9
10
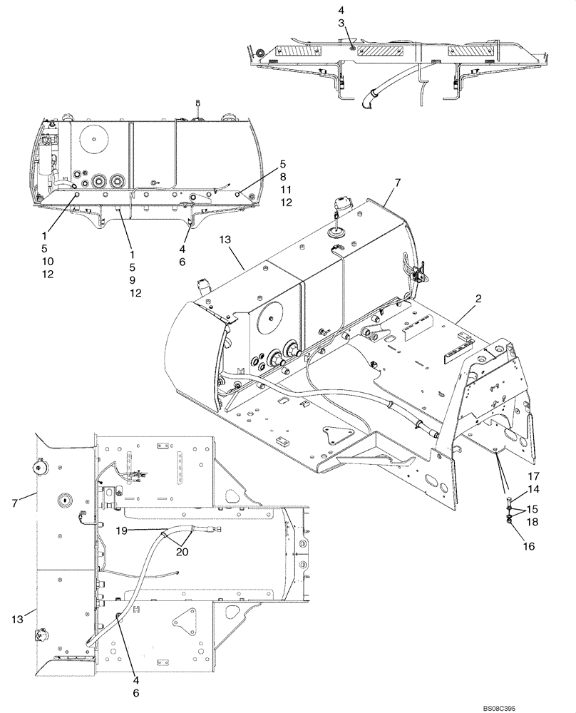
2
13
1
18
11
13
12
5
3
16
1
4
8
4
5
20
6
7
6
19
7
12
15
14
17
12
4
5
FIT
1:1
100%

Артикул

Название

Примечание

Количество

REF

INSTRUCTION

DIFFERENCE IN TANKS ARE THE LIFTING BOSSES ON THE TOP OF THE TANK, THIS HAS THEM; FOR OTHER OPTIONS SEE FIGURE 09-09

1шт.

1

87440363

SPACER,17.5mm ID x 34.9mm OD x 29mm L

, Serial Range: -(INDIEN

10шт.

2

87347752

FRAME ASSY

Upper

1шт.

87382387

SERVICE KIT

SERVICE KIT; Upper Chassis Frame Service Kit; Includes 87381262 Tank Frame Plate, Rear Gusset

1шт.

3

122958A1

SQUARE NUT

M10; Location Shown; Not Illustrated

1шт.

4

336371A1

PIN,4.88mm OD x 14.23mm L

Nut Retainer

9шт.

5

345-148

SEALANT, THREAD

Adhesive Thread 1ML; Loctite 262

11шт.

6

405737A2

SQUARE NUT,M16 x 26mm x 26mm x 16mm H ZND CL 5A

M16

8шт.

7

87644054

FUEL TANK

TANK/A; Fuel; See Figure 03-04A

1шт.

8

614-16040

BOLT,Hex, M16 x 2 x 40mm, Cl 8.8, Full Thd

1шт.

9

814-16055

BOLT,Hex, M16 x 2 x 55mm, Cl 8.8

5шт.

10

814-16065

BOLT,Hex, M16 x 2 x 65mm, Cl 8.8

5шт.

11

896-11016

WASHER,17.5mm ID x 30mm OD x 4mm Thk

1шт.

12

D44330

SHIM,.031" Thk

12шт.

13

87644048

TANK, HYDRAULIC OIL

TANK/A; Hydraulic; See Figure 08-01A, 09-10A

1шт.

REF

INSTRUCTION

FOLLOWING COMPONENTS ARE FOR MOUNTING UPPER FRAME TO LOWER FRAME; Ref 14-18

1шт.

14

627-20055

BOLT,Hex, M20 x 2.5 x 55mm, Cl 10.9, Full Thd

Used on models with Mounting 'Hole'; If used

6шт.

15

896-11020

WASHER,22mm ID x 37mm OD x 4mm Thk

Used On Models With Mounting 'Hole'; If Used

12шт.

16

829-1420

NUT,M20, Cl 10

6шт.

17

627-20060

BOLT,Hex, M20 x 2.5 x 60mm, Cl 10.9, Full Thd

Use With Loctite 243; Used On Models With Mounting 'Slot'; If Used

6шт.

18

896-15020

WASHER,22mm ID x 44mm OD x 5mm Thk

Used On Models With Mounting 'Slot'; If Used

12шт.

19

87313817

CONDUIT

1шт.

20

L11541

CABLE TIE,203.2mm L, Nylon

CABLE STRAP

1шт.

Выбрано товаров: 23