Запчасти Case 650K (09-37) - CAB - SCREEN, REAR (09) - CHASSIS/ATTACHMENTS

Схема запчастей Case 650K - (09-37) - CAB - SCREEN, REAR (09) - CHASSIS/ATTACHMENTS
7
11
1
6
12
12
16
12
15
17
20
8
3
18
8
7
9
14
5
7
13
14
9
4
4
6
6
7
6
16
9
19
8
2a
2
10
15
FIT
1:1
100%

Артикул

Название

Примечание

Количество

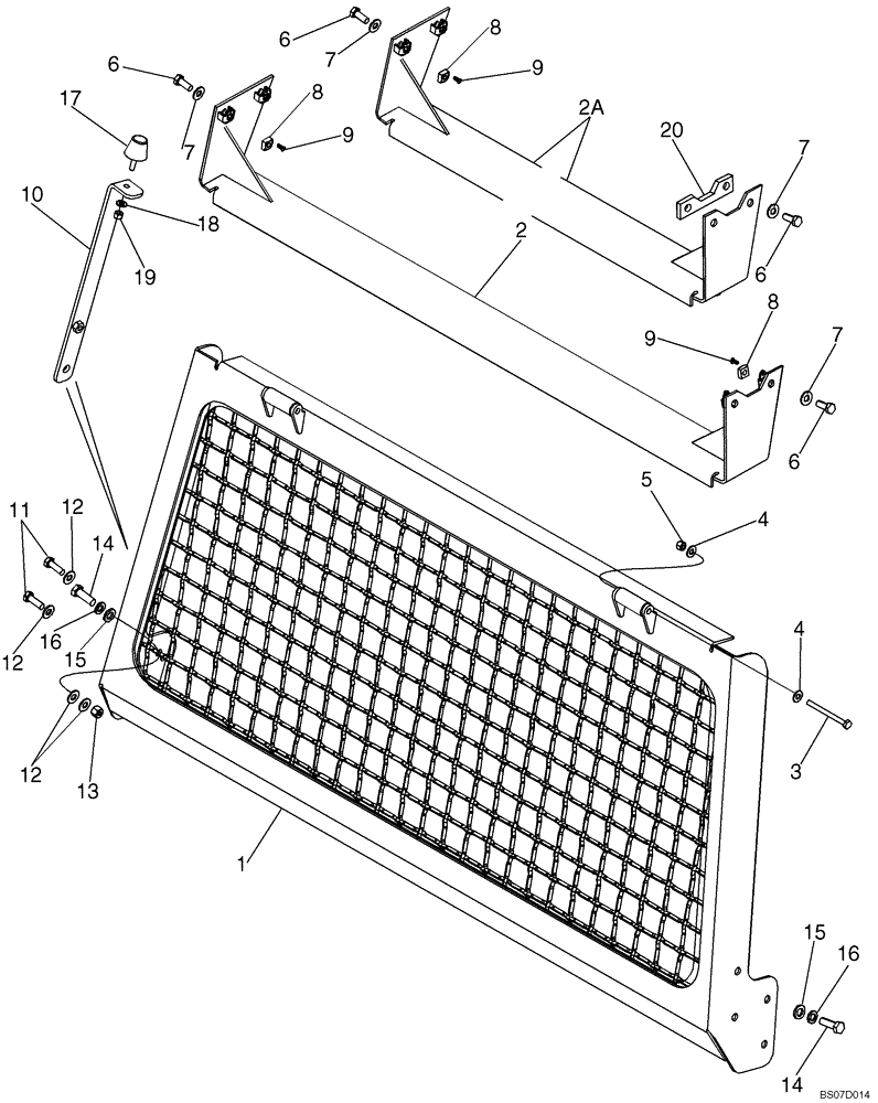
1

87543873

SCREEN

Rear Cab Screen

1шт.

2

87543871

SUPPORT

Rear Cab Support, with 4 cage nut, No Longer Available, Order 87623643 Ref 2A, 87623648 Plate, Ref 20

1шт.

2a

87623643

SUPPORT

SUPPORT, Rear Cab with 2 cage nuts

1шт.

3

814-8090

BOLT,Hex, M8 x 1.25 x 90mm, Cl 8.8

2шт.

4

895-15008

WASHER,9mm ID x 20mm OD x 1.6mm Thk

4шт.

5

832-10408

NUT,M8 x 1.25, Cl 8.8

2шт.

6

614-10025

BOLT,Hex, M10 x 1.5 x 25mm, Cl 8.8

4шт.

7

895-15010

WASHER,11mm ID x 24mm OD x 2mm Thk

4шт.

8

122958A1

SQUARE NUT

Square, M10

2 - 4шт.

9

336371A1

PIN,4.88mm OD x 14.23mm L

Nut Retainer

2 - 4шт.

10

87543876

SUPPORT

Screen Prop Support

1шт.

11

614-10030

BOLT,Hex, M10 x 1.5 x 30mm, Cl 8.8, Full Thd

2шт.

12

895-15010

WASHER,11mm ID x 24mm OD x 2mm Thk

4шт.

13

832-10410

NUT,M10 x 1.5, Cl 8

1шт.

14

614-12035

BOLT,Hex, M12 x 1.75 x 35mm, Cl 8.8, Full Thd

4шт.

15

892-11012

LOCK WASHER,M12

4шт.

16

896-11012

WASHER,13.5mm ID x 24mm OD x 3mm Thk

4шт.

17

N7673

BUMPER

1шт.

18

495-11034

WASHER,5/16", SAE

1шт.

19

231-1445

NUT,5/16"-18, GB

1шт.

20

87623648

BLOCK

PLATE, mounting

1шт.

Выбрано товаров: 21