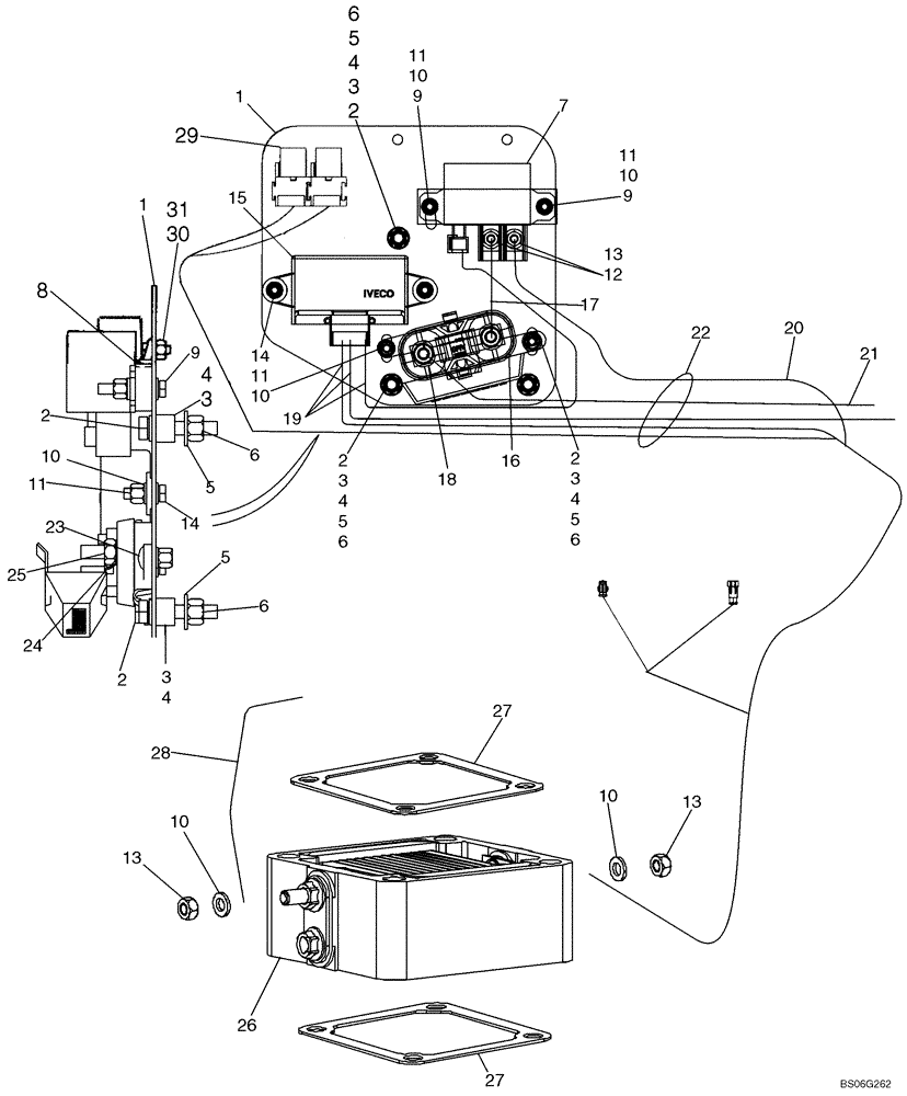
Запчасти Case 650K (04-22A) - GRID HEATER - SYSTEM CONTROL (W/ TEMP. SWITCH CONNNECTIONS; IF USED) (04) - ELECTRICAL SYSTEMS

Схема запчастей Case 650K - (04-22A) - GRID HEATER - SYSTEM CONTROL (W/ TEMP. SWITCH CONNNECTIONS; IF USED) (04) - ELECTRICAL SYSTEMS
9
19
3
10
15
27
4
5
11
4
11
9
1
5
28
12
10
10
24
7
3
6
2
13
10
9
2
25
2
14
11
5
13
4
6
6
3
6
8
2
17
30
4
5
18
3
5
22
2
2
13
16
3
6
10
29
1
27
31
23
1
4
14
26
11
10
FIT
1:1
100%

Артикул

Название

Примечание

Количество

1

87397601

BRACKET, SUPPORTING

Cold Start Plate

1шт.

2

614-8040

BOLT,Hex, M8 x 1.25 x 40mm, Cl 8.8, Full Thd

3шт.

3

407962A1

SPACER,9.8mm ID x 12.9mm OD x 11mm L

3шт.

4

238-5011

O-RING,0.07" Thk x 0.301" ID, -11, Cl 5, 75 Duro

3шт.

5

895-15008

WASHER,9mm ID x 20mm OD x 1.6mm Thk

3шт.

6

832-10408

NUT,M8 x 1.25, Cl 8.8

3шт.

7

86619908

RELAY,12V, 150A

Cold Start

1шт.

8

87414237

PLATE,25mm W x 102mm L x 10mm Thk

Spacer, 10 mm

1шт.

9

614-6035

BOLT,Hex, M6 x 1 x 35mm, Cl 8.8, Full Thd

2шт.

10

895-11006

WASHER,6.6mm ID x 12mm OD x 1.6mm Thk

14шт.

11

832-10406

NUT,M6 x 1, Cl 8

6шт.

12

322357

BELLEVILLE WASHER,M6 Bolt Size x 14mm OD x 1.3mm Thk

2шт.

13

829-1406

NUT,Hex, M6 x 1, Cl 10.9

4шт.

14

614-6020

BOLT,Hex, M6 x 1 x 20mm, Cl 8.8, Full Thd

3шт.

15

47132002

HEATER

1шт.

16

440038A1

JUNCTION BLOCK

Fuse Block

1шт.

17

87410265

BAR

90 mm Jumper Copper Plate; Fuse To Relay

1шт.

19

87396228

WIRE HARNESS

Controller Harness, Grid Heater Control; Attaches To Engine Harness; Incl. 87516581 Resistor and L71879 Diode

1шт.

18

87410602

FUSE,300A, Blade

300 Amp

1шт.

87516581

RESISTOR,3.01kohm, 0.5W

3.01k

1шт.

L71879

DIODE ELEMENT,400V, 3A

1шт.

20

87442552

CABLE ASSY.

575 mm Wire; Relay To Grid Heater

1шт.

21

87419615

CABLE ASSY.

1250 mm Wire; Starter To Fuse Block

1шт.

22

D150521

CLAMP

1-2шт.

23

614-6020

BOLT,Hex, M6 x 1 x 20mm, Cl 8.8, Full Thd

Replaces 811-6016

1шт.

24

892-11008

LOCK WASHER,8mm ID

5шт.

25

829-1408

NUT,Hex, M8 x 1.25, Cl 10.9

2шт.

26

82017872

HEATER

Grid

1шт.

27

86014151

GASKET,93mm L x 98mm L

Grid Heater

2шт.

28

87413162

GROUND STRAP

150 mm Ground Wire

1шт.

29

87436836

RELAY,12V, 40 Amp

2шт.

30

231-24409

NUT,#10-32

TRQ # 10 GRB

2шт.

31

87301687

SCREW,HWH, #10 - 32 x 1/2"

2шт.

Выбрано товаров: 33