Запчасти Case 650L (48.130.01) - FRAME, TRACK - ROLLER AND RECOIL HOUSING (48) - TRACKS & TRACK SUSPENSION

Схема запчастей Case 650L - (48.130.01) - FRAME, TRACK - ROLLER AND RECOIL HOUSING (48) - TRACKS & TRACK SUSPENSION
14
5
10
27
10
8
11
11
13
21
12
7
30
24
9
10
23
26
6
32
1
12
19
3
15
4
48.138.01
48.138.01
48.134.02
10
9
20
18
12
9
31
8
13
16
16
28
9
17
22
13
25
29
2
FIT
1:1
100%

Артикул

Название

Примечание

Количество

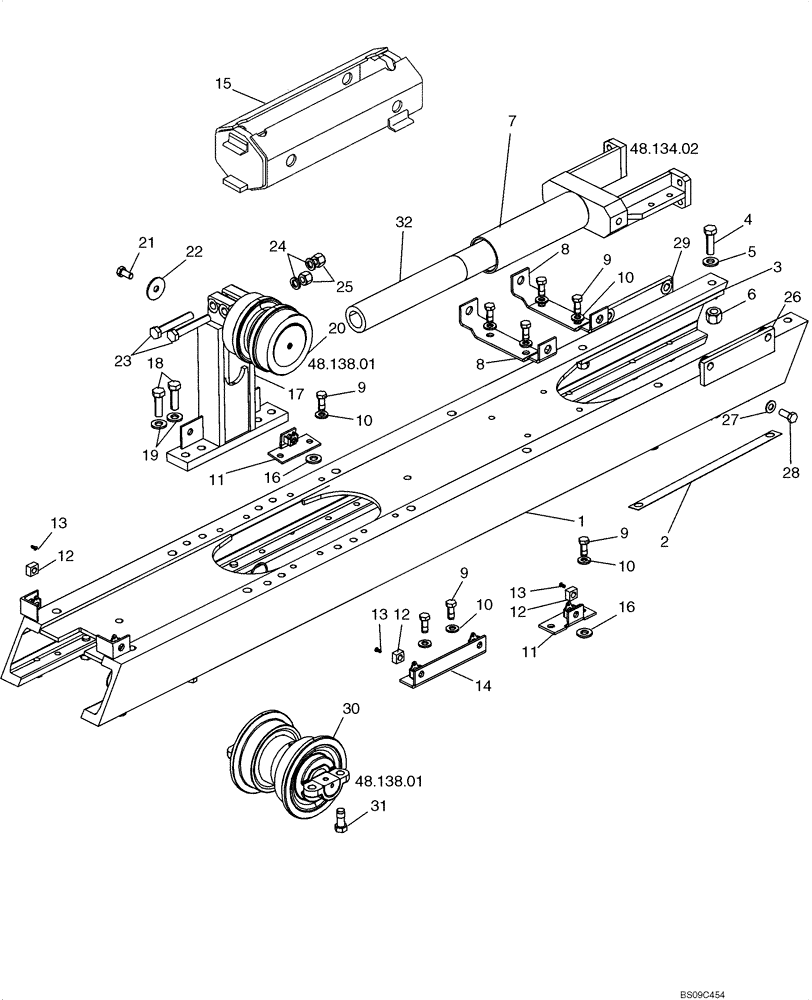
1

87648625

FRAME

Track

2шт.

2

87634813

SHIM

Idler Wear Strip

4шт.

3

87415717

BAR

Idler Wear Bottom

4шт.

4

413-1032

BOLT,Hex, 5/8" - 11 x 2", Gr 5

8шт.

5

492-11062

BEARING WASHER,5/8"

8шт.

6

425-1010

NUT,5/8"-11, G5

8шт.

7

87631118

YOKE

2шт.

8

87631141

BRACKET

Front Track Cover

4шт.

9

87018374

BOLT,Hex, 1/2" - 13 x 1 1/4", Gr 8, Full Thd

20шт.

10

496-21053

WASHER,17/32" x 1 1/16" x .134"

20шт.

11

84178778

BRACKET

Recoil Housing Support

4шт.

12

129-857

SQUARE NUT,Sq, 1/2"-13

8шт.

13

336371A1

PIN,4.88mm OD x 14.23mm L

8шт.

14

87634814

BRACKET

Center Track Cover

2шт.

15

84178780

HOUSING

2шт.

16

R24323

WASHER

8шт.

17

87353994

BRACKET, SUPPORTING

For Roller Carrier

2шт.

18

426-1032

BOLT,Hex, 5/8" - 11 x 2", Gr 8

8шт.

19

496-21066

WASHER,16.6mm ID x 33.5mm OD x 3.8mm Thk

8шт.

20

87314691

ROLLER ASSY.,Carrier

TRACK Carrier

2шт.

21

413-816

BOLT,Hex, 1/2" - 13 x 1", Gr 5

2шт.

22

495-91167

WASHER,13.49mm ID x 50.8mm OD x 3.4mm Thk

2шт.

23

426-1064

BOLT,Hex, 5/8" - 11 x 4", Gr 8

4шт.

24

496-81004

WASHER,41/64" x 1.047" x .134", HDN

4шт.

25

232-41410

LOCK NUT,5/8"-11, GC

4шт.

26

141188A1

SPACER

4шт.

27

496-11081

WASHER,13/16" x 1 1/2" x .134", HDN

8шт.

28

413-12144

BOLT,Hex, 3/4" - 10 x 9", Gr 5

4шт.

29

231-41112

LOCK NUT,3/4"-10, GB

4шт.

30

87581948

TRACK ROLLER

12шт.

31

409-91024

BOLT,Hex, 5/8" - 11 x 1 1/2", Gr 5

48шт.

32

87650042

TUBE

1шт.

Выбрано товаров: 32