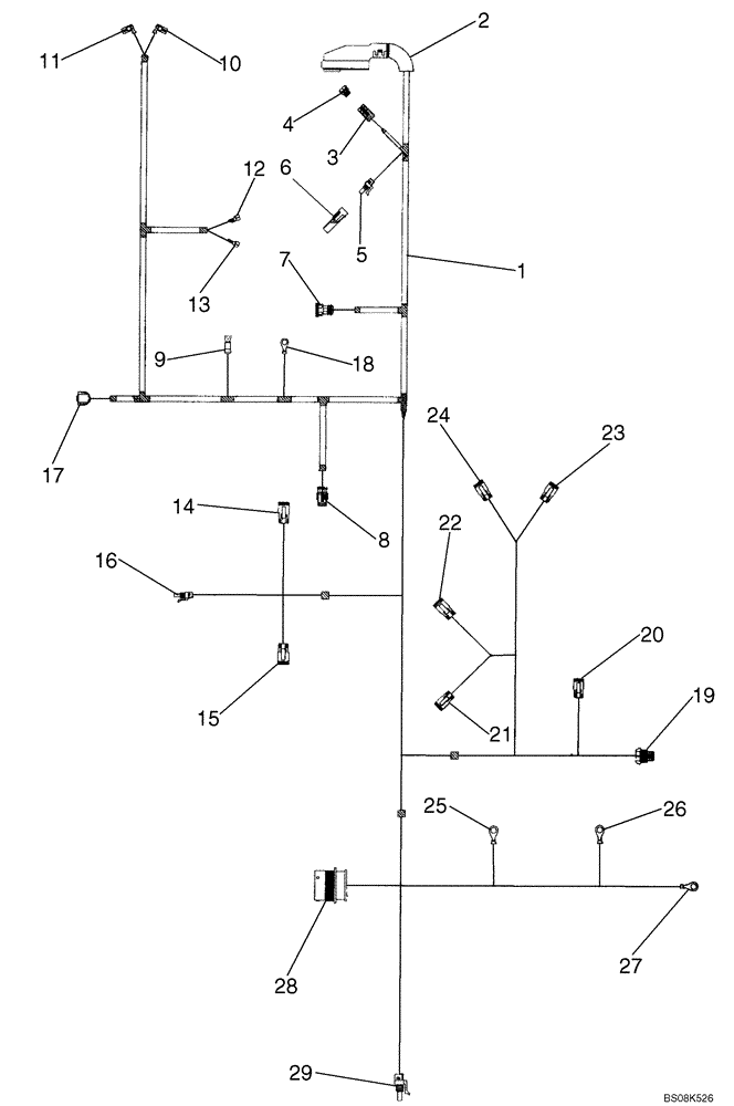
Запчасти Case 650L (55.100.03[01]) - HARNESS, ELECTRICAL ENGINE (55) - ELECTRICAL SYSTEMS

Схема запчастей Case 650L - (55.100.03[01]) - HARNESS, ELECTRICAL ENGINE (55) - ELECTRICAL SYSTEMS
26
8
13
14
23
28
10
21
16
29
5
19
24
27
9
2
18
7
12
4
17
20
22
3
15
6
11
1
25
FIT
1:1
100%

Артикул

Название

Примечание

Количество

1

84245147

HARNESS

Engine; Inc. 2 - 29

1шт.

2

87703276

CONTACT HOUSING,Male, 89 Pole

Housing Contact

1шт.

3

292548A1

CONNECTOR, ELEC

CONNECTOR High Pressure Switch

1шт.

4

292549A1

CONNECTOR, ELEC

CONNECTOR Dust Cap, High Pressure Switch

1шт.

5

245480C1

ELEC CONNECTOR,1 Pin

A/C Compressor

1шт.

6

245481C1

CONNECTION,ELECTRIC

Dust Cap, A/C Compressor

1шт.

7

87703272

ELEC CONNECTOR,0.5 - 2.5 mm2

Water Signal Sensor

1шт.

8

371614A1

ELEC CONNECTOR,Female, 2 Pin

Grid Heater

1шт.

9

87723427

SPADE TERMINAL,16 - 14 SAE

Starter

1шт.

10

225191C1

ELEC CONNECTOR,Female , Pin

Horn/Ground

1шт.

11

225191C1

ELEC CONNECTOR,Female , Pin

Horn/Ground

1шт.

12

282459A1

ELEC CONNECTOR,Female, 0.75 - 2 mm2

Air Restriction Switch

1шт.

13

282459A1

ELEC CONNECTOR,Female, 0.75 - 2 mm2

Air Restriction Switch

1шт.

14

87703271

ELEC CONNECTOR,Female, 14 - 20 SAE

Left Hand Pump

1шт.

15

87703271

ELEC CONNECTOR,Female, 14 - 20 SAE

Right Hand Pump

1шт.

16

256342A1

ELEC CONNECTOR,Female, 2 Pin

Charge Pressure Sensor

1шт.

17

382203A1

CONNECTOR, ELEC

CONNECTOR Alternator

1шт.

18

1964706C1

TERMINAL CONNECTOR

Ground

1шт.

19

256340A1

CONNECTOR, ELEC

CONNECTOR Brake Release Switch

1шт.

20

256340A1

CONNECTOR, ELEC

CONNECTOR Brake Release Solenoid

1шт.

21

87702955

ELEC CONNECTOR,Female

Left Hand Motor Solenoid

1шт.

23

87703271

ELEC CONNECTOR,Female, 14 - 20 SAE

Right Hand Motor Speed Sensor

1шт.

24

87702955

ELEC CONNECTOR,Female

Right Hand Motor Solenoid

1шт.

25

87723455

TERMINAL CONNECTOR,0.8-2 mm2

Transmission Oil Temp

1шт.

26

87723455

TERMINAL CONNECTOR,0.8-2 mm2

Hydraulic Equipment Filter

1шт.

27

87723455

TERMINAL CONNECTOR,0.8-2 mm2

Hydrostatic Filter

1шт.

28

87723454

ELEC CONNECTOR

1шт.

29

245482C1

ELEC CONNECTOR,2 Pin

Fuel Sender

1шт.

Выбрано товаров: 28